Nikon Nikkor AF-S 50mm f/1.4G handleiding
Handleiding
Je bekijkt pagina 32 van 116

32
Jp
En
De
Fr
Es
Se
Ru
Nl
It
Ck
Ch
Kr
Démontage du parasoleil
Tenez le parasoleil par la base (près du repère de
fixation du parasoleil) et faites-le pivoter dans le
sens des aiguilles d’une montre pour le retirer
(l’objectif de l’appareil photo ne doit pas être
dirigé vers vous).
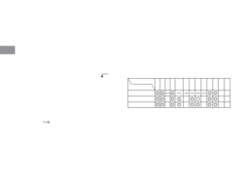
Verres de visée recommandés
Divers verres de visée sont disponibles pour
certains appareils photo reflex Nikon qui
s’adaptent à toutes les conditions de prise de vue.
Les verres recommandés avec cet objectif sont
listés ci-dessous :
Verre
EC-B
G1
Appareil
ABCE
EC-E
G2 G3 G4
JLMU
F6
F5+DP-30
F5+DA-30
◎
: Mise au point excellente
○
: Mise au point passable
Un vignetage ou un effet de moiré affecte
l’image de visée. L’image sur le film n’est
cependant pas affectée par ces phénomènes.
—
: Non disponible.
Un blanc indique aucune application. Étant donné que
le verre M peut être utilisé pour la macrophotographie
à un rapport d’agrandissement 1:1 ou plus et pour la
photomicrographie, il a des applications différentes de
celles des autres verres.
Flash intégré et vignettage
• Il est impossible d’utiliser le flash intégré à des
distances inférieures à 0,6 m.
• Pour éviter le vignetage, n’utilisez pas le parasoleil.
※Le vignettage est l’assombrissement des coins de
l’image qui se produit lorsque la lumière émise
par le flash est retenue par le parasoleil ou la
monture de l’objectif en fonction de la distance
de prise de vue.
Utilisation du parasoleil
Fixation du parasoleil
Alignez le repère de fixation du parasoleil ( , l’un
des deux repères)
2
sur le parasoleil avec le repère
de montage du parasoleil
4
sur l’objectif et
tournez le parasoleil dans le sens inverse des
aiguilles d’une montre (vu à partir de l’arrière de
l’appareil photo) jusqu’au déclic de mise en place
(Fig. B).
•
Vérifiez que le repère de montage du parasoleil
est bien aligné sur le repère de réglage du
parasoleil
( )
3
.
•
Si le parasoleil n’est pas correctement fixé, il
risque d’entraîner du vignettage.
•
Pour faciliter le montage ou le retrait du
parasoleil, tenez-le par la base (près du repère
de fixation du parasoleil) et non par le bord
extérieur.
• Avant de ranger l’objectif, fixez le parasoleil à
l’envers.
Bekijk gratis de handleiding van Nikon Nikkor AF-S 50mm f/1.4G, stel vragen en lees de antwoorden op veelvoorkomende problemen, of gebruik onze assistent om sneller informatie in de handleiding te vinden of uitleg te krijgen over specifieke functies.
Productinformatie
| Merk | Nikon |
| Model | Nikkor AF-S 50mm f/1.4G |
| Categorie | Niet gecategoriseerd |
| Taal | Nederlands |
| Grootte | 14138 MB |







