Handleiding
Je bekijkt pagina 72 van 116

72
Jp
En
De
Fr
Es
Se
Ru
Nl
It
Ck
Ch
Kr
Flash incorporato e vignettatura
• Il flash incorporato non può essere utilizzato a
distanze inferiori a 0,6 m.
•
Per evitare la vignettatura (riduzione della luminosità
ai margini dell’immagine), non usare un paraluce.
※La vignettatura è la riduzione della luminosità ai
margini dell’immagine che si verifica quando la
luce emessa dal flash è ostacolata dal paraluce o
dal barilotto, in base alla distanza di ripresa.
Utilizzo del paraluce
Collegamento del paraluce
Allineare l’indice di collegamento del paraluce ( ,
uno dei due riferimenti)
2
sul paraluce con l’indice
di montaggio del paraluce
4
sull'obiettivo, quindi
ruotare il paraluce in senso antiorario (guardato
impugnando la fotocamera con l'obiettivo rivolto in
direzione opposta a sé) fino a quando non scatterà
in posizione (Fig. B).
• Assicurarsi che l’indice di montaggio del paraluce
sia allineato con l’indice di regolazione del
paraluce
( )
3
.
• Se il paraluce non è fissato correttamente, si può
verificare la vignettatura.
•
Per facilitare il fissaggio e la rimozione del paraluce,
impugnarlo per la base (vicino al riferimento di
fissaggio paraluce) anziché verso il bordo esterno.
•
Riporre il paraluce innestandolo in posizione invertita.
Smontaggio del paraluce
Per smontare il paraluce, impugnarlo per la base (vicino
al riferimento di fissaggio paraluce) e ruotare in senso
orario (impugnando la fotocamera con l’obiettivo
rivolto in direzione opposta a sé).
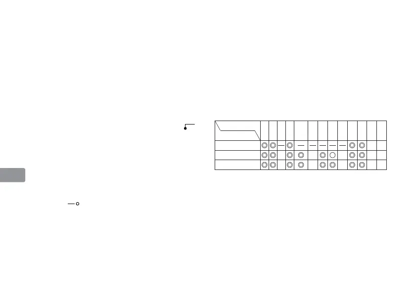
Schermi di messa a fuoco consigliati
Per alcune fotocamere SLR Nikon sono disponibili
vari schermi di messa a fuoco intercambiabili adatti
a ogni situazione di ripresa. Gli schermi consigliati
per l’uso con questo obiettivo sono elencati sotto.
Schermo
EC-B
Fotocamera
ABCE
EC-E
G1
G2 G3 G4
J
L
MU
F6
F5+DP-30
F5+DA-30
◎
: Messa a fuoco eccellente
○
: Messa a fuoco accettabile
L’immagine sullo schermo presenta una riduzione
di luminosità o tracce di fenomeno del moiré.
Questo però non lascia tracce sulla pellicola.
—
: Non disponibile
Bekijk gratis de handleiding van Nikon AF-S Nikkor 50mm f/1.4G, stel vragen en lees de antwoorden op veelvoorkomende problemen, of gebruik onze assistent om sneller informatie in de handleiding te vinden of uitleg te krijgen over specifieke functies.
Productinformatie
| Merk | Nikon |
| Model | AF-S Nikkor 50mm f/1.4G |
| Categorie | Lens |
| Taal | Nederlands |
| Grootte | 14138 MB |
Caratteristiche Prodotto
| Kleur van het product | Zwart |
| Gewicht | 280 g |
| Montagewijze | Bajonet |
| Diameter | 73.5 mm |
| Vaste focale lengte | 50 mm |







