Handleiding
Je bekijkt pagina 56 van 116

56
Jp
En
De
Fr
Es
Se
Ru
Nl
It
Ck
Ch
Kr
Встроенная вспышка и
виньетирование
• Встроенную вспышку нельзя использовать
для съемки с расстояний менее 0,6 m.
• Во избежание виньетирования не
используйте бленду объектива.
※
Виньетирование - это затемнение углов
изображения, возникающее при заграждении
света вспышки блендой объектива или его
оправой в зависимости от расстояния съемки.
Использование бленды
Присоединение бленды
Совместив метку крепления бленды ( , любая из
двух меток)
2
на установочной метке бленды
4
на
объективе, поворачивайте бленду против часовой
стрелки (держа фотокамеру объективом от себя)
до полной фиксации (рис. B).
• Убедитесь, что установочная метка бленды
совпадает с меткой фиксации бленды ( )
3.
• Если бленда установлена на объектив
ненадлежащим образом, может возникнуть
эффект виньетирования.
•
Для облегчения установки или снятия бленды
удерживайте ее за основание (рядом с
установочной меткой бленды), а не за
внешнюю кромку.
• Для хранения бленды присоединяйте ее в
обратном положении.
Отсоединение бленды
Чтобы отсоединить бленду, удерживайте ее
за основание (рядом с установочной меткой
бленды) и поверните по часовой стрелке,
удерживая фотокамеру объективом от себя.
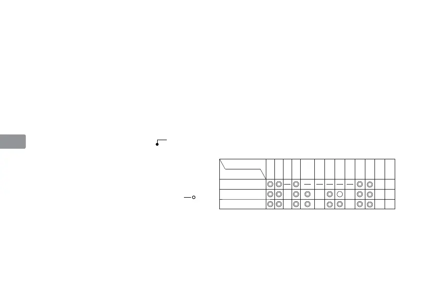
Рекомендуемые фокусировочные
экраны
Сменные фокусировочные экраны, доступные
для определенных зеркальных фотокамер
Nikon, помогают осуществлять съемку
практически в любых ситуациях. С этим
объективом рекомендуется использовать
следующие фокусировочные экраны.
Экран
EC-B
G1
Фотокамера
ABCE
EC-E
G2 G3 G4
J
L
MU
F6
F5+DP-30
F5+DA-30
◎
: Исключительное качество фокусировки
○
: Приемлемое качество фокусировки
Небольшое виньетирование или муар могут
иметь место в видоискателе, но не на пленке.
—
: Недоступно
Пустое поле означает, что фокусировочный
экран использовать нельзя. Поскольку экран
типа M может использоваться как для
Bekijk gratis de handleiding van Nikon AF-S Nikkor 50mm f/1.4G, stel vragen en lees de antwoorden op veelvoorkomende problemen, of gebruik onze assistent om sneller informatie in de handleiding te vinden of uitleg te krijgen over specifieke functies.
Productinformatie
| Merk | Nikon |
| Model | AF-S Nikkor 50mm f/1.4G |
| Categorie | Lens |
| Taal | Nederlands |
| Grootte | 14138 MB |
Caratteristiche Prodotto
| Kleur van het product | Zwart |
| Gewicht | 280 g |
| Montagewijze | Bajonet |
| Diameter | 73.5 mm |
| Vaste focale lengte | 50 mm |







