Nibe ERS S40-350 handleiding

32 pagina's
PDF beschikbaar

Handleiding

Je bekijkt pagina 28 van 32
Part Specification Sheet 051262-7
Page 3/3 Created:2023-01-20 10:12
MJN 2023-01-20
Production JOV 2020-03-17
230V 50Hz 0.001
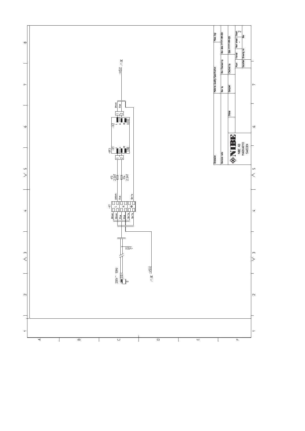
WIRING DIAGRAM ERS S40-400
ELSCHEMA ERS S40-400
051262 7
NIBE ERS S40-400Chapter 10 | Technical data28

Bekijk gratis de handleiding van Nibe ERS S40-350, stel vragen en lees de antwoorden op veelvoorkomende problemen, of gebruik onze assistent om sneller informatie in de handleiding te vinden of uitleg te krijgen over specifieke functies.

Productinformatie

MerkNibe
ModelERS S40-350
CategorieNiet gecategoriseerd
TaalNederlands
Grootte4070 MB