Nevir NVR-LV2000-BE handleiding
Handleiding
Je bekijkt pagina 21 van 98

21
Paso 2. Dimensiones e instalación del panel estético
Armarios
Lavavajillas
puerta del
lavavajillas
Espacio mínimo
de 50 mm
NOTA:
Dependiendo de dónde se encuentre su toma de corriente, es posible que
tenga que hacer un agujero en el lado opuesto del armario.
El panel de madera estético podría procesarse de acuerdo con el
planos de instalación.
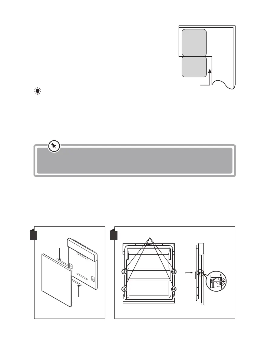
A
pasador
pasador
Modelo semi integrado
El fijador A y el fijador B se separan, el fijador se coloca A en el panel de
madera estético y el fijador afieltrado B de la puerta exterior del lavavajillas
(consulte la figura A). Después de colocar el panel, fije el panel a la puerta
exterior mediante tornillos y pernos (consulte la figura B).
B
2. Apriete los cuatro tornillos largos
1.Tome los cuatro tornillos cortos
2. Si el lavavajillas está encastrado en la esquina
del mueble
,debe haber algo de espacio cuando se
abra
la puerta.
Bekijk gratis de handleiding van Nevir NVR-LV2000-BE, stel vragen en lees de antwoorden op veelvoorkomende problemen, of gebruik onze assistent om sneller informatie in de handleiding te vinden of uitleg te krijgen over specifieke functies.
Productinformatie
| Merk | Nevir |
| Model | NVR-LV2000-BE |
| Categorie | Vaatwasser |
| Taal | Nederlands |
| Grootte | 7950 MB |


