Necchi K417D handleiding
Handleiding
Je bekijkt pagina 21 van 60

15
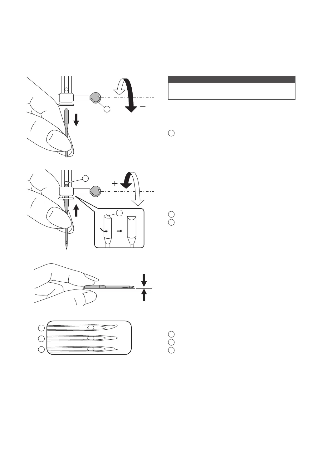
Replacing the needle
n
Attention
Turn the power switch to off ("O") when
carrying out below operations!
Turn the handwheel toward you to raise the
needle then loosen the needle clamp screw to
remove the needle.
1
Needle clamp screw
Needles must be in perfect condition.
When inserting a new needle, keep the at
side of the shaft to the back.
Push the needle into the clamp until it touches
the pin and stops. Then secure it by tightening
the needle clamp screw.
1
Flat side of the shaft
2
Pin
Problems can occur with:
1
Bent needles
2
Blunt needles
3
Damaged points
Change the needle regularly, especially when it shows signs of wear or if it causes
problems.
1
2
3
1
1
2
Bekijk gratis de handleiding van Necchi K417D, stel vragen en lees de antwoorden op veelvoorkomende problemen, of gebruik onze assistent om sneller informatie in de handleiding te vinden of uitleg te krijgen over specifieke functies.
Productinformatie
| Merk | Necchi |
| Model | K417D |
| Categorie | Naaimachine |
| Taal | Nederlands |
| Grootte | 7138 MB |