Handleiding
Je bekijkt pagina 4 van 7

Sizes 10-28
NOTES
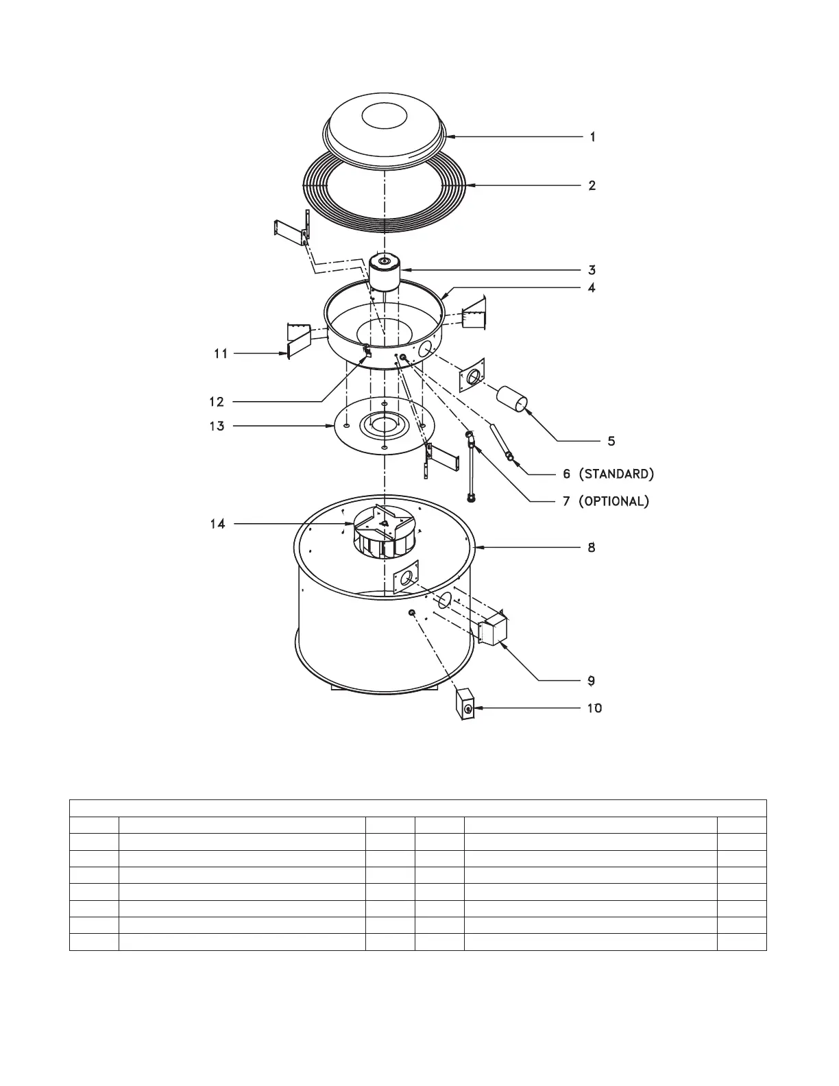
PARTS LIST LEGEND
No. Description Qty. No. Description Qty.
1 Motor Enclosure Cover* 1 8 Windband Assembly 1
2 Birdscreen* 1 9 Breather Tube Cover 1
3 Motor 1 10 Disconnect Switch 1
4 Motor Enclosure 1 11 Support Bracket 4
5 Breather Tube 1 12 Quick Release Latch 1
6 Wiring Post (standard) 1 13 Motor Reinforcing Plate 1
7 Wiring Post (optional) 1 14 Impeller* 1
* Recommended spare parts
1. Fan shown is standard unit. Units built for restaurant service
do not have internal wiring post (No. 7) or birdscreen (No.
2). Unit shown is model with UL762 and externally mounted
disconnect switch.
2. Fan shown is roof fan. Wall fan applications require wall
bracket accessory not shown.
______________________________________________________________________________________________________________________________
2017 © North American Kitchen Solutions
172 Reaser Court
Elyria, OH 44035
www.naksinc.com
Page 4 of 7
Bekijk gratis de handleiding van NAKS 28D-1600-FF, stel vragen en lees de antwoorden op veelvoorkomende problemen, of gebruik onze assistent om sneller informatie in de handleiding te vinden of uitleg te krijgen over specifieke functies.
Productinformatie
| Merk | NAKS |
| Model | 28D-1600-FF |
| Categorie | Afzuigkap |
| Taal | Nederlands |
| Grootte | 946 MB |







