Handleiding
Je bekijkt pagina 12 van 75

DE – 12
2. Installation und Vorbereitung
für den Gebrauch
WARNUNG:Das Gerät muss von
einem autorisierten Servicemitarbeiter
oder einem qualifizierten Techniker
gemäß den Hinweisen in dieser
Gebrauchsanweisung und unter Einhaltung
der geltenden lokalen Vorschriften installiert
werden.
• Eine unsachgemäße Installation kann
zu Personen- und Sachschäden führen,
für die der Hersteller keine Haftung
übernimmt und die nicht von der
Garantie abgedeckt sind.
• Überprüfen Sie vor der Montage des
Geräts, dass der vom Energieversorger
gelieferte Strom (elektrische Spannung
und Frequenz) mit der Einstellung
des Geräts kompatibel ist.Die
Anschlusswerte für dieses Gerät sind
auf dem Typenschild angegeben.
• Die im Einsatzland geltenden
Gesetze, Verordnungen, Richtlinien
und Normen sind einzuhalten
(Sicherheitsbestimmungen, sach- und
ordnungsgemäßes Recycling usw.).
• Wenn das Gerät mit herausnehmbaren
Einschubführungen (für
Ofengitter) ausgestattet ist und die
Gebrauchsanweisung Rezepte wie
Joghurt enthält, müssen für diese die
Ofengitter entfernt und muss der Ofen
im dafür vorgesehenen Garmodus
betrieben werden. Informationen
zum Entfernen der Ofengitter finden
Sie im Abschnitt REINIGUNG UND
WARTUNG.
2.1 hinweiSe für den inStAllAteur
Allgemeine Hinweise
• Nachdem Sie die Verpackung von
dem Gerät und dem Zubehör entfernt
haben, vergewissern Sie sich, dass
keine Schäden vorhanden sind.
Wenn Sie einen Schaden vermuten,
verwenden Sie das Gerät nicht, und
wenden Sie sich umgehend an einen
autorisierten Servicemitarbeiter oder
einen qualifizierten Techniker.
• Stellen Sie sicher, dass sich in der
direkten Nähe des Gerätes keine
entzündlichen oder brennbaren
Materialien wie Gardinen, Öl, Kleidung
usw. befinden, die in Brand geraten
könnten.
• Die Arbeitsplatte und Möbel, die
das Gerät umgeben, müssen
aus Materialien gefertigt sein, die
Temperaturen von über 100°C
standhalten können.
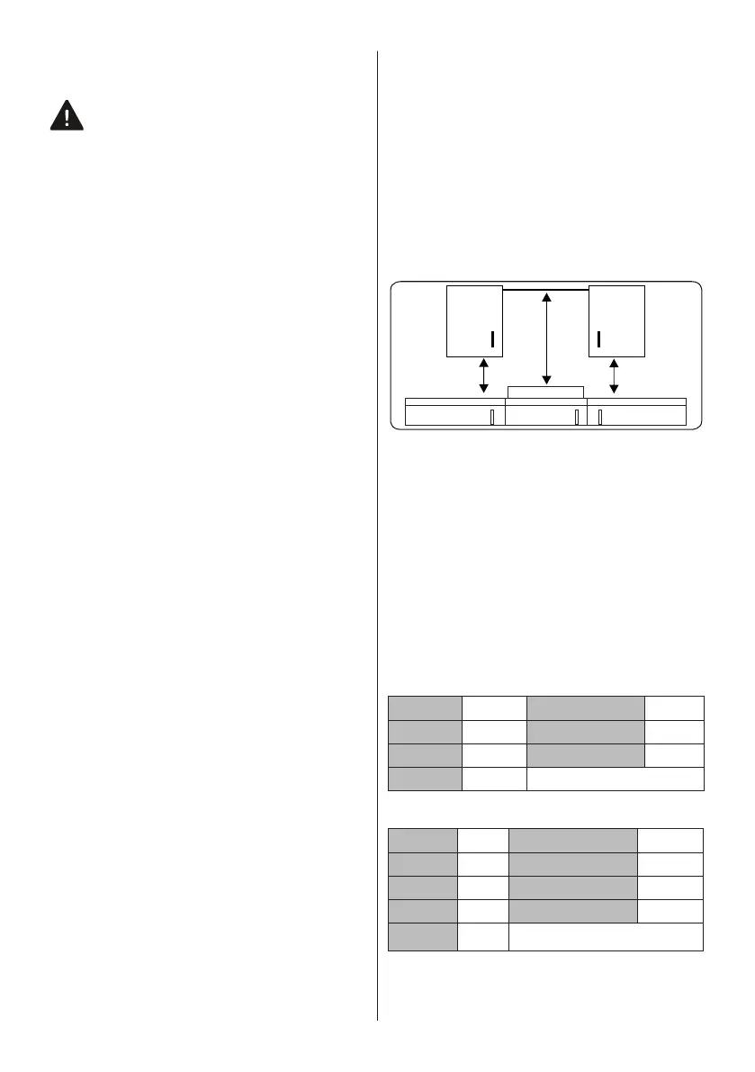
• Wenn über dem Gerät eine
Dunstabzugshaube oder ein Schrank
montiert werden sollen, muss der
Sicherheitsabstand zwischen der
Kochfeldoberfläche und jeglichem
Schrank/jeglicher Dunstabzugshaube
den in der Abbildung unten aufgeführten
Werten entsprechen.
Kochfeld
Mindestens
42 cm
Mindestens
42 cm
Mindestens
65 cm (mit
Dunstabzugshaube)
Mindestens
70 cm (ohne
Dunstabzugshaube)
• Das Gerät sollte nicht direkt über
einem Geschirrspüler, einem
Kühlschrank, einem Gefrierschrank,
einer Waschmaschine oder einem
Wäschetrockner installiert werden.
2.2 einBAuen der geräte
Die Geräte werden mit Montagekits
geliefert und können in eine Arbeitsplatte
mit geeigneten Abmessungen eingebaut
werden.Die Einbaumaße des Kochfeldes
und des Backofens sind in der Tabelle
unten aufgeführt.
Einbaumaße für Kochfeld
A1 (mm) 590 E1 (mm) 490
B1 (mm) 520 min. F1 (mm) 50
C1 (mm) 41 min. G1 (mm) 50
D1 (mm) 560
Einbaumaße für Backofen
A2 (mm) 557 E2 (mm) 574
B2 (mm) 550 min. F2 (mm) 560-580
C2 (mm) 595 min. G2 /J2 (mm) 555/5
D2 (mm) 575 H2 (mm) 600
I2(mm) 25
Bekijk gratis de handleiding van Nabo HS 5120, stel vragen en lees de antwoorden op veelvoorkomende problemen, of gebruik onze assistent om sneller informatie in de handleiding te vinden of uitleg te krijgen over specifieke functies.
Productinformatie
| Merk | Nabo |
| Model | HS 5120 |
| Categorie | Fornuis |
| Taal | Nederlands |
| Grootte | 6689 MB |







