MSW -PU-30 handleiding
Handleiding
Je bekijkt pagina 8 van 492

DE
Bedienelemente und Anzeigen am Gerät
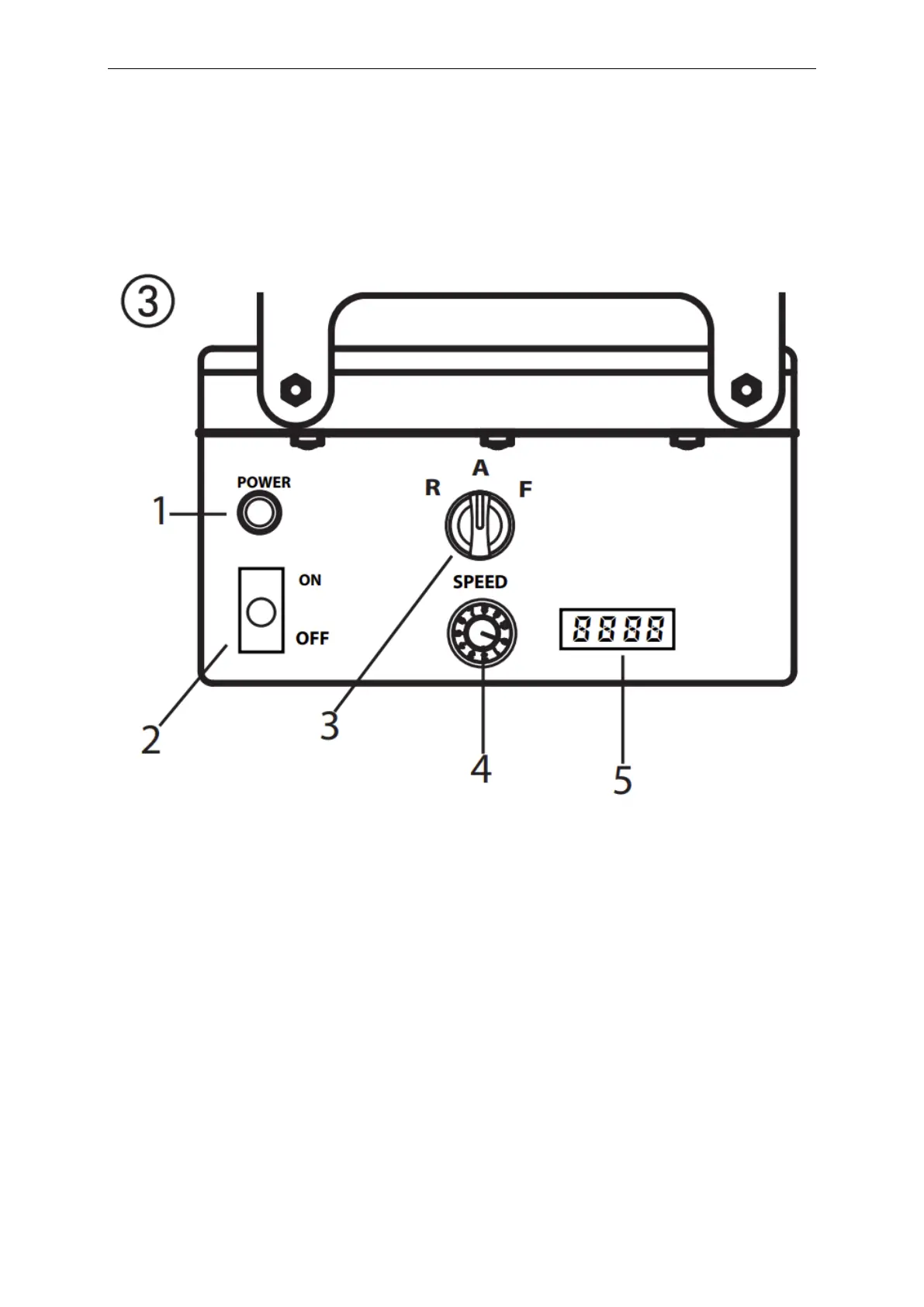
1 -
Betriebsleuchte (Power)
2 - Netzschalter
3 -
Wahlschalter für Betriebsart
4 - Liefervolumen-Controller
5 -
Geschwindigkeits-Display
Der Fördermengenregler (Abb. 3, 1) dient zur stufenlosen Regulierung der Förderleistung von 0-10.
Bekijk gratis de handleiding van MSW -PU-30, stel vragen en lees de antwoorden op veelvoorkomende problemen, of gebruik onze assistent om sneller informatie in de handleiding te vinden of uitleg te krijgen over specifieke functies.
Productinformatie
| Merk | MSW |
| Model | -PU-30 |
| Categorie | Niet gecategoriseerd |
| Taal | Nederlands |
| Grootte | 80432 MB |







