MSW -CCSE-3500.420 handleiding
Handleiding
Je bekijkt pagina 64 van 352

EN
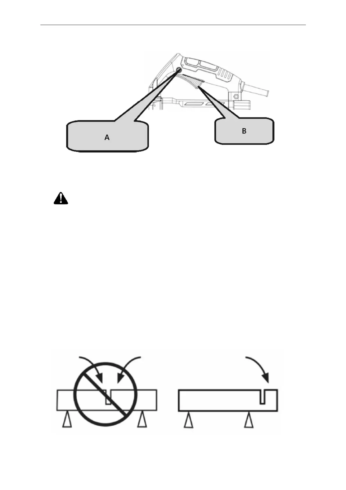
A- Tlačítko proti samosvornému zablokování
B- Přepínač
POZOR!
Před zahájením práce vždy zkontrolujte diamantový kotouč.
Nikdy nepoužívejte diamantový kotouč, který je prasklý, zlomený nebo ohnutý.
Na diamantový kotouč nenanášejte vodu ani chladicí kapalinu.
Začněte řezat až tehdy, když diamantový kotouč dosáhne maximální rychlosti.
Pokud se diamantový kotouč zasekne nebo uslyšíte neobvyklý zvuk, okamžitě vypněte napájení.
Diamantový kotouč nikdy nepoužívejte k řezání klikatých nebo zakřivených čar. Nepoužívejte boční
plochu diamantového kotouče ani se nepokoušejte o šikmé řezy.
Nadměrná síla vynaložená na zarovnání kotouče s vyznačenou čarou může přetížit a poškodit motor,
přehřát diamantový kotouč a zkrátit jeho životnost.
Během provozu udržujte napájecí kabel v dostatečné vzdálenosti od diamantového kotouč
e.
Po dokončení práce vypněte napájení a odpojte nářadí ze zásuvky.
Podepřete obrobek, abyste zajistili předvídatelnou dráhu řezu a aby řez zůstal otevřený.
Při spouštění stroje se ujistěte, že se nůž nedotýká žádného předmětu.
Bekijk gratis de handleiding van MSW -CCSE-3500.420, stel vragen en lees de antwoorden op veelvoorkomende problemen, of gebruik onze assistent om sneller informatie in de handleiding te vinden of uitleg te krijgen over specifieke functies.
Productinformatie
| Merk | MSW |
| Model | -CCSE-3500.420 |
| Categorie | Niet gecategoriseerd |
| Taal | Nederlands |
| Grootte | 73591 MB |







