MSW -CCSE-3500.420 handleiding
Handleiding
Je bekijkt pagina 244 van 352

SK
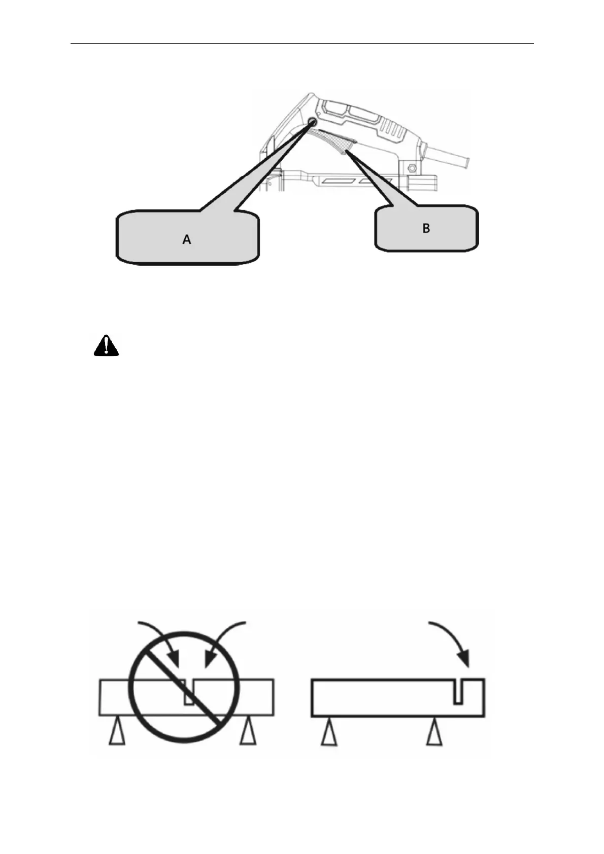
A- Tlačidlo proti samosvoreniu
B- Prepínač
POZOR!
Pred začatím práce vždy skontrolujte diamantový kotúč.
Nikdy nepoužívajte diamantový kotúč, ktorý je prasknutý, zlomený alebo ohnutý.
Na diamantový kotúč neaplikujte vodu ani chladiacu kvapalinu.
Začnite rezať až vtedy, keď diamantový kotúč dosiahne maximálnu rýchlosť.
Ak sa diamantový kotúč zasekne alebo počujete abnormálny zvuk, okamžite vypnite napájanie.
Diamantový kotúč nikdy nepoužívajte na rezanie cikcakových alebo zakrivených čiar. Nepoužívajte
bočnú plochu diamantového kotúča ani sa nepokúšajte o šikmé rezy.
Nadmerná sila na zarovnanie kotúča s vyznačenou čiarou môže preťažiť a poškodiť motor, prehriať
diamantový kotúč a skrátiť jeho životnosť.
Počas prevádzky udržujte napájací kábel v dostatočnej vzdialenosti od diamantového kotúča.
Po dokončení práce vypnite napájanie a odpojte náradie zo siete.
Podoprite obrobok, aby ste zabezpečili predvídateľnú dráhu rezu a aby rez zostal otvorený.
Pri štartovaní stroja sa uistite, že čepeľ nie je v kontakte so žiadnym predmetom.
Bekijk gratis de handleiding van MSW -CCSE-3500.420, stel vragen en lees de antwoorden op veelvoorkomende problemen, of gebruik onze assistent om sneller informatie in de handleiding te vinden of uitleg te krijgen over specifieke functies.
Productinformatie
| Merk | MSW |
| Model | -CCSE-3500.420 |
| Categorie | Niet gecategoriseerd |
| Taal | Nederlands |
| Grootte | 73591 MB |







