MSW -CCSE-3500.420 handleiding
Handleiding
Je bekijkt pagina 165 van 352

EN
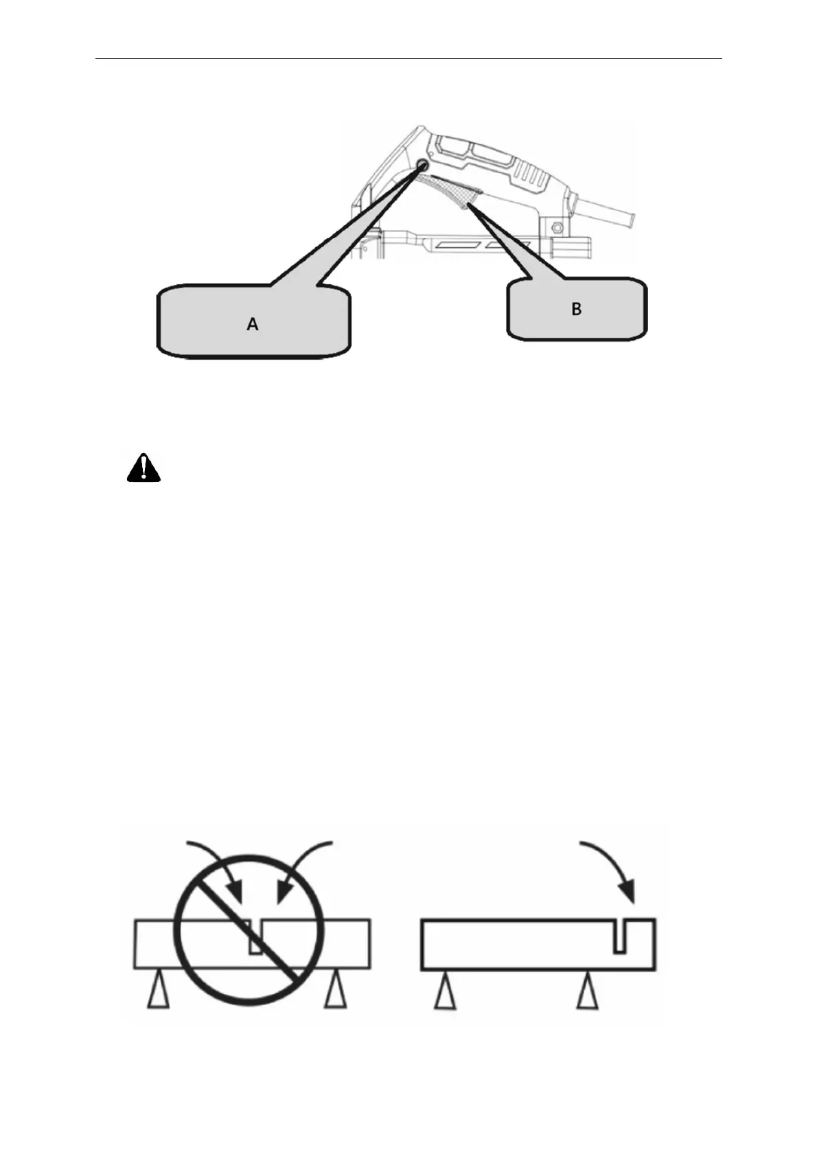
A- Itselukittumaton painike
B- Kytkin
VAROITUS!
Tarkista timanttilaikka aina ennen työn aloittamista.
Älä koskaan käytä timanttilaikkaa, joka on haljennut, rikkoutunut tai vääntynyt.
Älä levitä vettä tai jäähdytysnestettä timanttilaikkaalle.
Aloita leikkaaminen vasta, kun timanttilaikka saavuttaa maksiminopeuden.
Jos timanttilaikka jumittuu tai kuulet epänormaalia ääntä, katkaise virta välittömästi.
Älä koskaan käytä timanttilaikkaa siksak- tai kaarevien viivojen leikkaamiseen. Älä käytä timanttilaikan
sivupintaa äläkä yritä tehdä vinoja leikkauksia.
Liian suuri voima terän kohdistamiseksi merkittyyn viivaan voi ylikuormittaa ja vahingoittaa moottoria,
ylikuumentaa timanttilaikkaa ja lyhentää sen käyttöikää.
Pidä virtajohto poissa timanttihiontalaikan läheltä käytön aikana.
Kun työ on valmis, katkaise virta ja irrota työkalu pistorasiasta.
Tue työkappaletta varmistaaksesi ennustettavan leikkausreitin ja leikkausjäljen pysymisen avoimena.
Varmista, ettei terä kosketa mihinkään esineeseen konetta käynnistäessäsi.
Bekijk gratis de handleiding van MSW -CCSE-3500.420, stel vragen en lees de antwoorden op veelvoorkomende problemen, of gebruik onze assistent om sneller informatie in de handleiding te vinden of uitleg te krijgen over specifieke functies.
Productinformatie
| Merk | MSW |
| Model | -CCSE-3500.420 |
| Categorie | Niet gecategoriseerd |
| Taal | Nederlands |
| Grootte | 73591 MB |







