MSW -CCSE-3500.420 handleiding
Handleiding
Je bekijkt pagina 133 van 352

HU
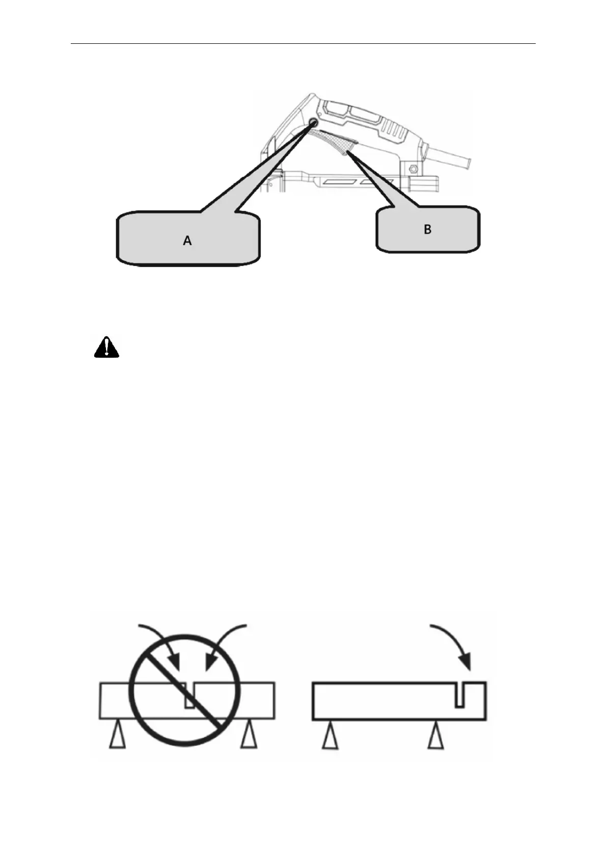
A- Önzáró gomb
B- Kapcsoló
VIGYÁZAT!
A munka megkezdése előtt mindig ellenőrizze a gyémánttárcsát.
Soha ne használjon repedt, törött vagy görbe gyémántkorongot.
Ne vigyen fel vizet vagy hűtőfolyadékot a gyémántkorongra.
A vágást csak akkor kezdje el, ha a gyémánttárcsa eléri a maximális fordulatszámát.
Ha a gyémánttárcsa beszorul, vagy rendellenes zajt hall, azonnal kapcsolja ki az áramellátást.
Soha ne használja a gyémánttárcsát cikkcakk vagy ívelt vonalak vágásához. Ne használja a
gyémánttárcsa oldalfelületét, és ne próbáljon meg ferde vágásokat végezni.
A jelölt vonalhoz való igazításhoz használt túlzott erő túlterhelheti és károsíthatja a motort,
túlmelegítheti a gyémántkorongot, és lerövidítheti az élettartamát.
Működés közben tartsa távol a hálózati kábelt a gyémántkorongtól.
A munka befejezése után kapcsolja ki az áramellátást, és húzza ki a szerszámot a konnektorból.
Támassza alá a munkadarabot, hogy biztosítsa a kiszámítható vágási utat és a vágás nyitott maradjon.
Győződjön meg róla, hogy a fűrészlap nem érintkezik semmilyen tárggyal a gép beindításakor.
Bekijk gratis de handleiding van MSW -CCSE-3500.420, stel vragen en lees de antwoorden op veelvoorkomende problemen, of gebruik onze assistent om sneller informatie in de handleiding te vinden of uitleg te krijgen over specifieke functies.
Productinformatie
| Merk | MSW |
| Model | -CCSE-3500.420 |
| Categorie | Niet gecategoriseerd |
| Taal | Nederlands |
| Grootte | 73591 MB |







