MSW -CCSE-3500.350W handleiding
Handleiding
Je bekijkt pagina 13 van 18

EN
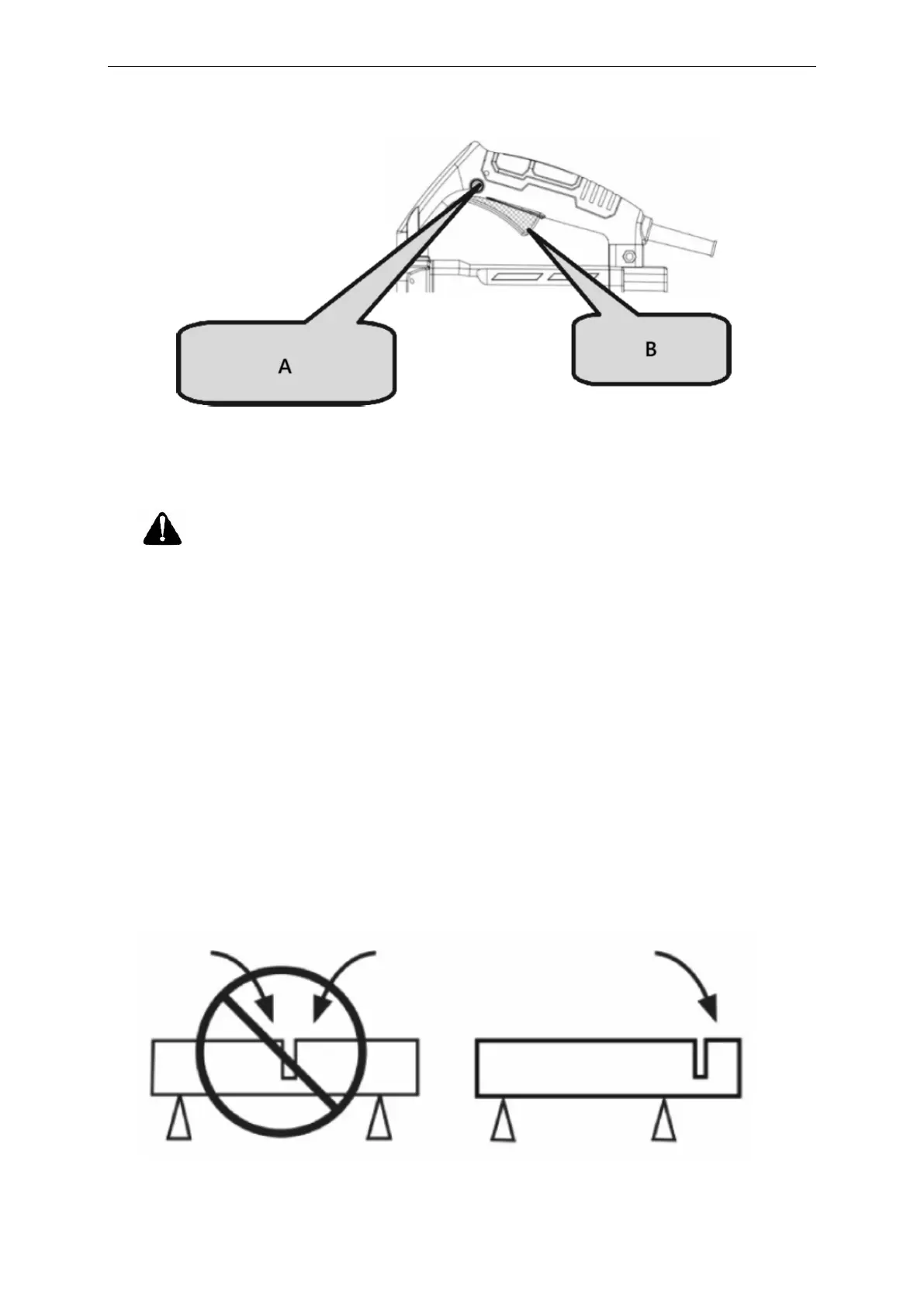
A- Anti-self-locking button
B- Switch
CAUTION!
Always check the diamond wheel before starting work.
Never use a diamond wheel that is cracked, broken, or bent.
Do not apply water or coolant to the diamond wheel.
Start cutting only when the diamond wheel reaches maximum speed.
If the diamond wheel seizes or you hear abnormal noise, immediately turn off the power.
Never use the diamond wheel to cut zigzag or curved lines. Do not use the side surface of the diamond
wheel or attempt inclined cuts.
Excessive force to align the blade with the marked line can overload and damage the motor, overheat
the diamond wheel, and shorten its lifespan.
Keep the power cord away from the diamond wheel during operation.
When work is finished, turn off the power and unplug the tool.
Support the workpiece to ensure a predictable cutting path and that the cut remains open.
Ensure the blade is not in contact with any object when starting the machine.
Bekijk gratis de handleiding van MSW -CCSE-3500.350W, stel vragen en lees de antwoorden op veelvoorkomende problemen, of gebruik onze assistent om sneller informatie in de handleiding te vinden of uitleg te krijgen over specifieke functies.
Productinformatie
| Merk | MSW |
| Model | -CCSE-3500.350W |
| Categorie | Niet gecategoriseerd |
| Taal | Nederlands |
| Grootte | 3677 MB |







