Handleiding
Je bekijkt pagina 8 van 56

8
3.2 Elterneinheit
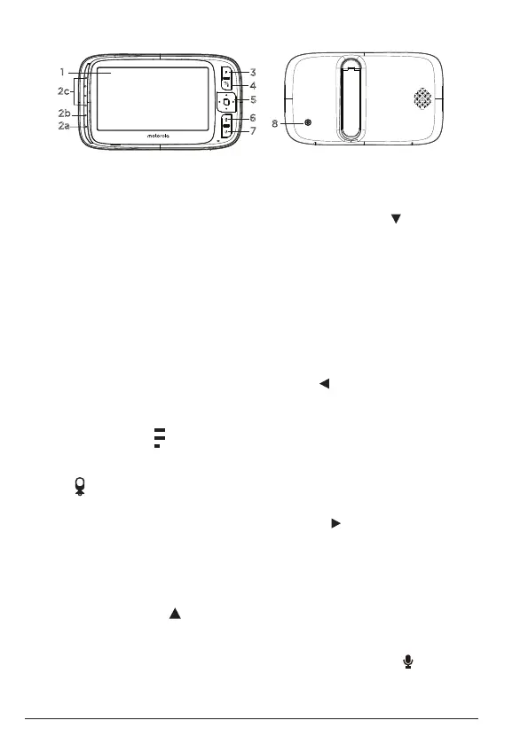
1
2
c
2
b
2
a
3
4
5
6
7
8
1. Display (LCD-Bildschirm)
2. Anzeigen für Batteriestatus,
Leistung, Lautstärke und Pairing
• Leuchtet violett, wenn der Akku
der Elterneinheit geladen wird,
und wird blau, wenn der Akku
vollständig geladen ist.
• Leuchtet grün, wenn die
Elterneinheit eingeschaltet ist.
• Grün-Orange-Rot-Rot.
Zeigt den von der Babyeinheit
erkannten Geräuschpegel an - je
lauter das erkannte Geräusch,
desto mehr LEDs leuchten
auf. Blinkt schnell grün, wenn
die Elterneinheit nach der
Babyeinheit sucht oder sich im
Kopplungsmodus befindet.
3. Hauptmenü-Taste
Drücken, um den Menümodus
aufzurufen/zu verlassen.
4. OK/ -Taste
Wenn Sie sich in einem Menü
befinden, drücken Sie diese Taste,
um einen Menüpunkt auszuwählen
oder eine Einstellung zu speichern.
Drücken, um den
Fernabfragemodus aufzurufen.
5. Bedienfeld
• AUF/LAUTSTÄRKE+
Drücken Sie diese Taste, um die
Lautstärke des Lautsprechers im
Kamerabetrachtungsmodus zu
erhöhen.
Wenn Sie sich in einem Menü
befinden, drücken Sie, um nach
oben zu scrollen. Wenn Sie sich
im Fernabfragemodus befinden,
drücken, um nach oben zu scrollen.
• AB/LAUTSTÄRKE-
Drücken Sie diese Taste, um
die Lautsprecherlautstärke im
Kamerabetrachtungsmodus zu
verringern.
Wenn Sie sich in einem Menü
befinden, um nach unten zu
blättern.
Drücken Sie diese Taste im
Fernabtastungsmodus, um die
Kamera nach unten zu schwenken.
• LINKS
Verringert die Helligkeit im
Kamerabetrachtungsmodus.
Wenn Sie sich in einem Menü
befinden, blättern Sie um nach
links zu blättern.
Drücken Sie im
Fernabtastungsmodus, um nach
links zu schwenken.
• RECHTS
Erhöht die Helligkeit im
Kamerabetrachtungsmodus.
Wenn Sie sich in einem Menü
befinden, drücken Sie, um nach
rechts zu blättern.
Drücken Sie im Remote-Scan-
Modus, um nach rechts zu
schwenken.
6. ZURÜCK SPRECHEN
Gedrückt halten, um mit der
Babyeinheit zu sprechen.
Bekijk gratis de handleiding van Motorola VM75, stel vragen en lees de antwoorden op veelvoorkomende problemen, of gebruik onze assistent om sneller informatie in de handleiding te vinden of uitleg te krijgen over specifieke functies.
Productinformatie
| Merk | Motorola |
| Model | VM75 |
| Categorie | Babyfoon |
| Taal | Nederlands |
| Grootte | 4738 MB |



