Handleiding
Je bekijkt pagina 14 van 68

Ovládání
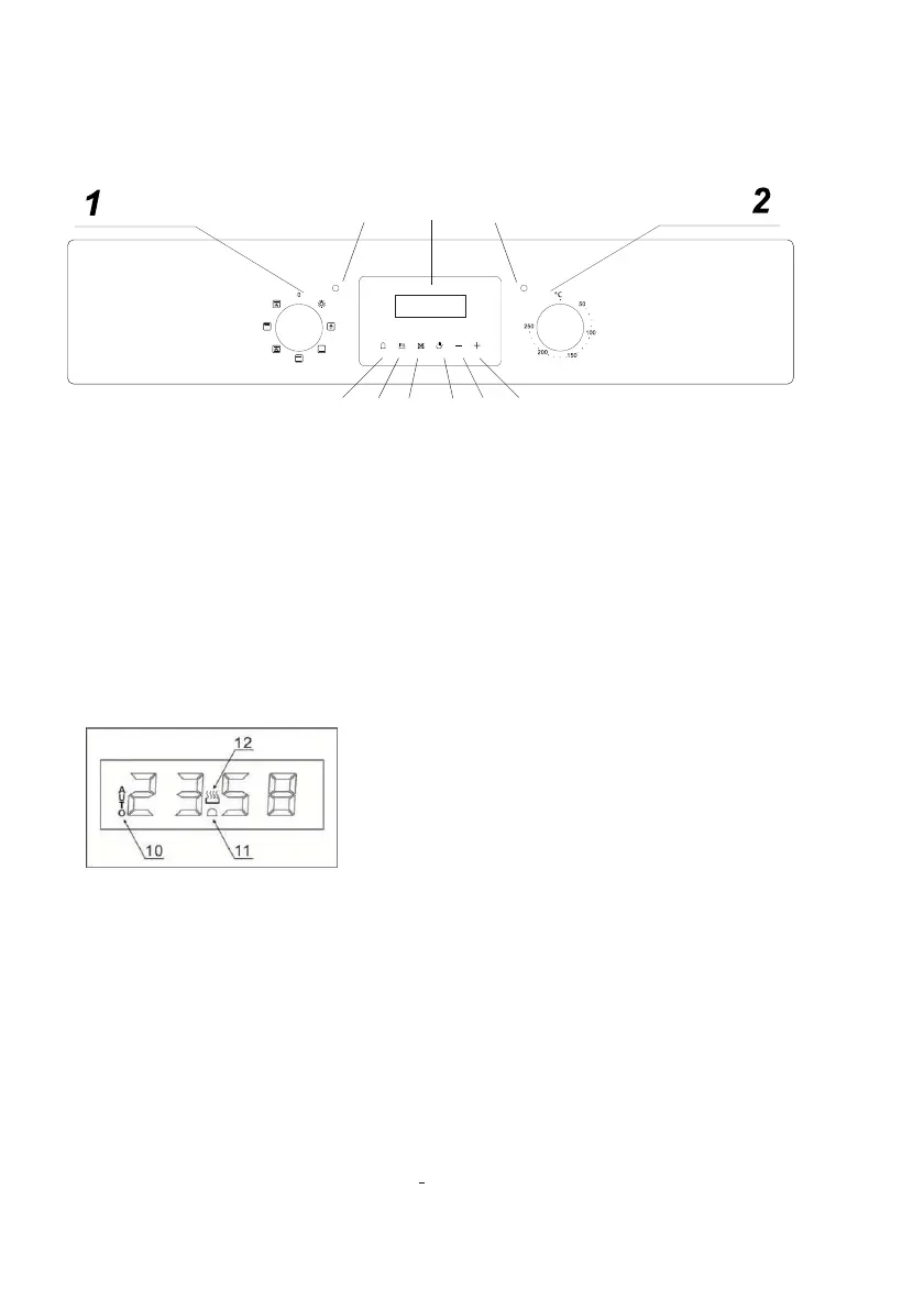
Kontrolní panel
1) Knoflík pro volbu funkce trouby
2) Ovládací knoflík termostatu
3) Tlačítko minutky
4) Tlačítko času trvání
5) Tlačítko pro ukončení pečení
6) Tlačítko ručního ovládání
7) Tlačítko mínus
8) Tlačítko plus
9) LED displej
A. Kontrolka napájení
B. Provozní světlo trouby
Displej programátoru/časovače trouby
10) Symbol automatické funkce
11) Symbol minutky
12) Symbol ručního ovládání
Nastavení a používání programátoru / časovače
Výběr režimu ručního ovládání
Po prvním připojení vašeho spotřebiče k elektrické síti budou čísla na displeji časovače blikat. Než
budete moci zvolit funkci vaření nebo nastavit teplotu, musíte spotřebič nastavit do režimu ručního
ovládání.
o Chcete-li vybrat režim ručního ovládání, stiskněte tlačítko ručního ovládání (6) na
ovládacím panelu.
Nastavení hodin (denní čas)
Po nastavení vaší trouby na ruční ovládání byste měli také nastavit denní čas.
8
A
9
B
3 4 5 6 7 8
Bekijk gratis de handleiding van Mora VT 234 GB, stel vragen en lees de antwoorden op veelvoorkomende problemen, of gebruik onze assistent om sneller informatie in de handleiding te vinden of uitleg te krijgen over specifieke functies.
Productinformatie
Merk | Mora |
Model | VT 234 GB |
Categorie | Oven |
Taal | Nederlands |
Grootte | 7432 MB |