Mitsubishi MUY-GL09NA handleiding
Handleiding
Je bekijkt pagina 63 van 76

63
MUZ-GL18NA
MUZ-GL18NAH
MUY-GL18NA
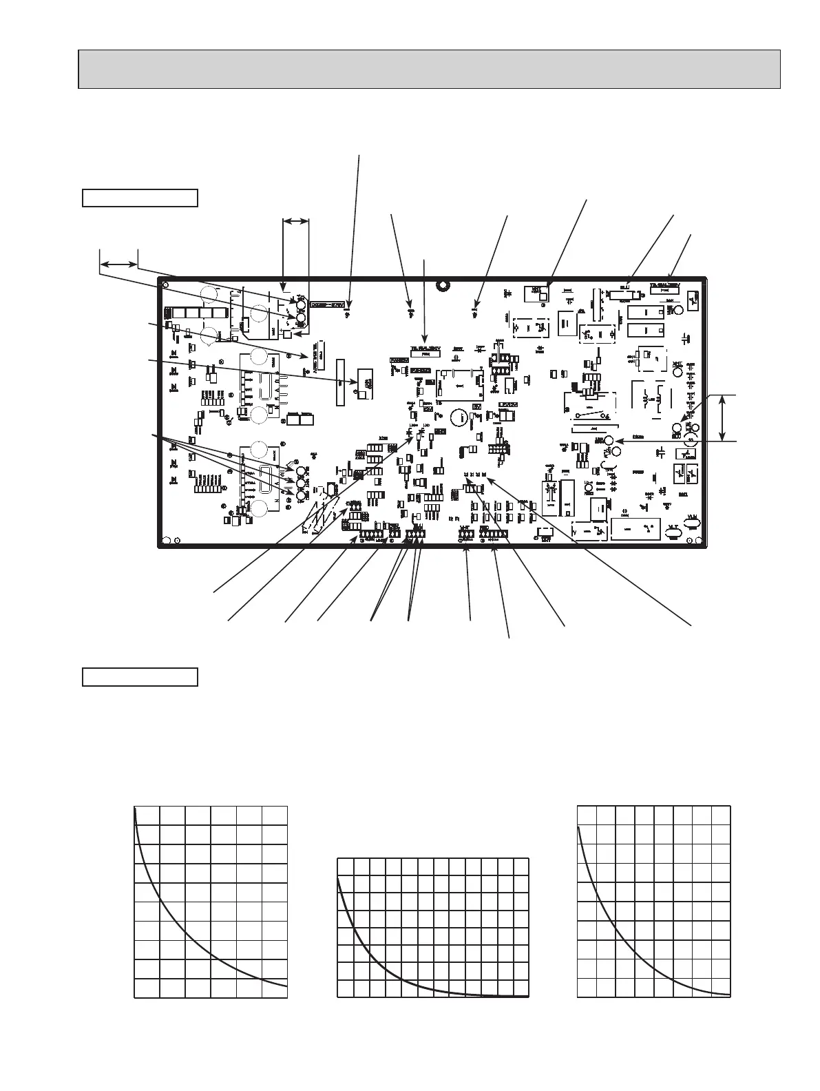
-4 14 32 50 68 86 104
0
10
20
30
40
50
60
70
80
90
100
Temperature (°F)
Defrost thermistor (RT61)
Ambient temperature thermistor (RT65)
Outdoor heat exchanger temperature thermistor (RT68)
32 50 68 86 104 122 140 158 176
0
20
40
60
80
100
120
140
160
180
200
Temperature (°F)
Fin temperature thermistor (RT64)
Resistance(kΩ)
Resistance(kΩ)
Temperature (°F)
Discharge temperature thermistor (RT62)
Resistance (kΩ)
0
100
200
300
400
500
600
700
800
32 50 68 86 104 122 140 158 176 194 212 230 248
Fin temperature
thermistor/RT64
(CN642)
Ambient temperature
thermistor/RT65
(CN643)
Discharge temperature
thermistor/RT62
(CN641)
Defrost thermistor
/RT61(CN641) (MUZ)
DB61
260 - 370 V DC
208/230 V AC
Smoothing
capacitor (C62)
Smoothing
capacitor (C63)
Output to
drive
compressor
(LDU,
LDV,
LDW)
(+)
(-)
Fuse (F701)
T3.15AL250V
Smoothing
capacitor
(C61)
Fuse (F901)
T3.15AL250V
R.V.coil/21S4
(CN721)
(MUZ)
208/230 V AC
Jumper wire for
changing defrost
setting (JS)
Signal of outdoor
fan motor (CN931)
208/230
V AC
Outdoor heat exchanger
temperature thermistor
/RT68 (CN644)
Jumper wire
for pre-heat
control setting
(JK)
Heater connector
(CN722)
(MUZ-GL18NAH)
Fuse (F801)
T3.15AL250V
Back side of unit
Expansion valve/LEV
(CN724)
Output to
drive outdoor
fan motor
(CN932)
LED
Front side of unit
OBH733J
Bekijk gratis de handleiding van Mitsubishi MUY-GL09NA, stel vragen en lees de antwoorden op veelvoorkomende problemen, of gebruik onze assistent om sneller informatie in de handleiding te vinden of uitleg te krijgen over specifieke functies.
Productinformatie
| Merk | Mitsubishi |
| Model | MUY-GL09NA |
| Categorie | Airco |
| Taal | Nederlands |
| Grootte | 15222 MB |







