Milwaukee M12 Fuel 2476-20 handleiding
Handleiding
Je bekijkt pagina 14 van 16

14
ENSAMBLAJE
ADVERTENCIA
Recargue la batería sólo con
el cargador especificado
para ella. Para instrucciones especícas sobre
cómo cargar, lea el manual del operador sumin-
istrado con su cargador y la batería.
ADVERTENCIA
Utilice únicamente acceso-
rios especícamente reco-
mendados para esta herramienta. El uso de ac-
cesorios no recomendados podría resultar
peligroso.
Como se inserta/quita la batería en la
herramienta
Para retirar la batería, presione los botones de
liberación y jale de la batería para sacarla de la
herramienta.
WARNING
Siempre retire la batería cuando la
herramienta no esté en uso.
Para introducir la batería, deslícela en el cuerpo de
la herramienta. Asegúrese de que quede bien rme
en su posición.
Conexión/extracción de la bolsa de
recolección de chips
Para colocar la bolsa de recogida de virutas,
pellizque los clips en la parte superior de la bolsa y
deslícese en la ranura en la parte inferior del soporte
de la matriz.
Para quitar la bolsa de recolección de chips,
pellizque los clips en la parte superior de la bolsa y
tire de la bolsa hacia abajo.
Vacíe la bolsa de recolección de chips durante el uso
y antes de almacenarla. Una bolsa de recolección
de virutas demasiado llena puede causar problemas
de corte.
AVISO
Deseche las virutas separadas de donde
almacena la herramienta para evitar que las
virutas y el polvo metálico dañen la herramienta.
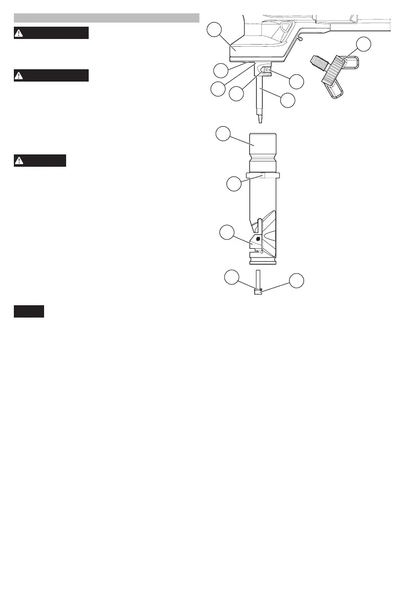
Cambio de punzones y troqueles
Reemplace el punzones y troqueles al mismo tiempo
o conforme sea necesario. Utilice una llave abierta
de 2,5 mm para realizar el cambio de punzones /
troqueles.
1. Quite la batería y colóquela en una supercie
nivelada.
2. Retire el portadados.
3. Retiro de punzones: Aoje el tornillo de jación
con una llave hexagonal de 2,5 mm. Retire el
punzón y el tornillo de jación y deséchelos.
4. Instalación del punzón y el tornillo de jación:
Alinee el retén del punzón con el tornillo de jación
que se encuentra en el porta-punzones. Apriete
bien el tornillo de jación para que se encuentre
por debajo de la supercie del porta-punzones.
5. Retiro de dados: Retire los dos tornillos del por-
tadados y las arandelas de presión con una llave
hexagonal de 2,5 mm. Deseche los dos tornillos
del portadados y el dado.
6. Instalación de los tornillos del portadados y
los dados: Coloque el dado en posición. Los ori-
cios de los tornillos que están en el dado y en el
portadados se alinearán cuando el dado esté bien
puesto. Cambie los dos tornillos del portadados y
las arandelas de presión y apriételos con rmeza.
7. Coloque el portadados en la dirección de corte
deseada con la ayuda del pasador de posicionami-
ento. Cambie el collarín y apriételo con rmeza.
1
2
3
10
4
9
8
5
7
6
11
12
1. Caja de engranajes
2. Perilla de rotación del
porta-troqueles
3. Tornillo de jación
4. Punzón
5. Tornillos del portadados
6. Arandela de seguridad
7. Troquel
8. Muescas
posicionadoras
9. Portadados
10. Oricio de retención
11. Portador de punzón
12. Luz LED
Bekijk gratis de handleiding van Milwaukee M12 Fuel 2476-20, stel vragen en lees de antwoorden op veelvoorkomende problemen, of gebruik onze assistent om sneller informatie in de handleiding te vinden of uitleg te krijgen over specifieke functies.
Productinformatie
Merk | Milwaukee |
Model | M12 Fuel 2476-20 |
Categorie | Niet gecategoriseerd |
Taal | Nederlands |
Grootte | 2832 MB |