Miele G 7266 SCVi handleiding

100 pagina's
PDF beschikbaar

Handleiding

Je bekijkt pagina 98 van 100
Sound emission testing
98
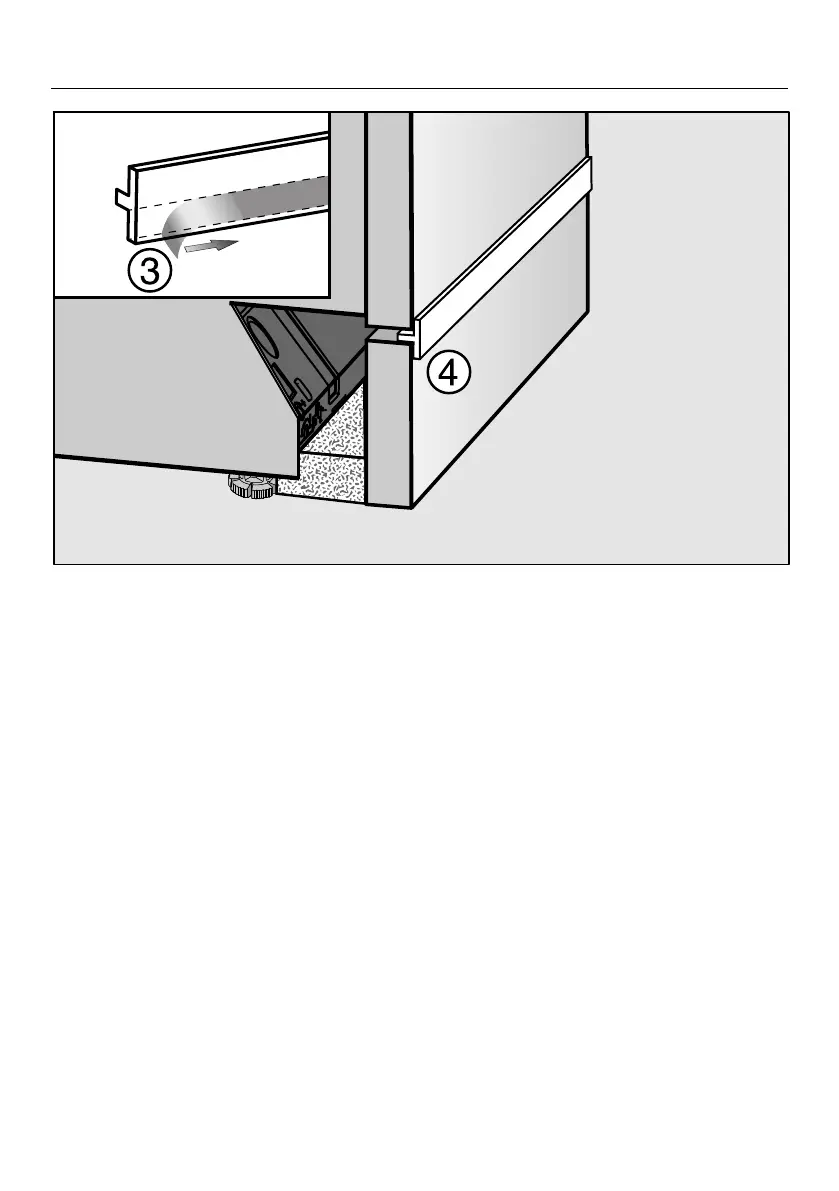
Remove the protective film from the provided insulating strip (depending on
model).
Stick the insulating strip onto the front top edge of the toe-kick board.

Bekijk gratis de handleiding van Miele G 7266 SCVi, stel vragen en lees de antwoorden op veelvoorkomende problemen, of gebruik onze assistent om sneller informatie in de handleiding te vinden of uitleg te krijgen over specifieke functies.

Productinformatie

MerkMiele
ModelG 7266 SCVi
CategorieWasmachine
TaalNederlands
Grootte10149 MB