Miele DKF 1000-R handleiding
Handleiding
Je bekijkt pagina 25 van 52

nl - Gebruiksaanwijzing
25
Reiniging en onderhoud
Wanneer moet u het anti-geurfilter
regenereren?
U moet het anti-geurfilter altijd regene-
reren, als de luchtjes niet meer voldoen-
de opgenomen worden.
Uiterlijk elke 6 maanden.
Als u het anti-geurfilter voor het eerst
plaatst: Als uw afzuigkap een urentel-
ler voor anti-geurfilters heeft, dient
u deze te activeren. Lees hiervoor de
gebruiksaanwijzing van uw afzuigkap.
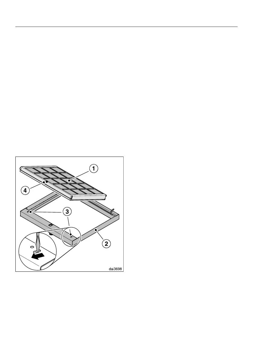
Anti-geurfilter verwijderen
DKF 12-R:
Het anit-geurfilter bestaat uit twee de-
len. De cassette voor het anti-geurfilter
a is in een frame b geplaatst. Neem
de cassette uit het frame als u de cas-
sette wilt regenereren.
Maak met een scherp voorwerp, bijv.
een kleine schroevendraaier, de beide
vergrendelingen c los.
Neem de cassette voorzichtig uit het
frame.
Regenereer de cassette zoals hierna
beschreven.
Reinig alleen het frame in de afwas-
automaat.
Plaats de cassette na het regenereren
weer in het frame. De markering d
op de cassette wijst naar boven. Sluit
de vergrendelingen c.
DKF 11-R, 21-R, 25-R, 1000-R:
Bekijk de afbeeldingen aan het einde
van deze gebruiksaanwijzing.
Bekijk gratis de handleiding van Miele DKF 1000-R, stel vragen en lees de antwoorden op veelvoorkomende problemen, of gebruik onze assistent om sneller informatie in de handleiding te vinden of uitleg te krijgen over specifieke functies.
Productinformatie
| Merk | Miele |
| Model | DKF 1000-R |
| Categorie | Niet gecategoriseerd |
| Taal | Nederlands |
| Grootte | 3445 MB |
Caratteristiche Prodotto
| Kleur van het product | Black, Metallic, Silver |
| Aantal per verpakking | 1 stuk(s) |
| Merkcompatibiliteit | Miele |







