Melchioni Vaporpiu handleiding
Handleiding
Je bekijkt pagina 3 van 15

3
Conoscere le parti essenziali della scopa a vapore
Voltaggio: 220V-240V.,50/ 60Hz.
Potenza: 1500 Watts
Capacità contenitiva di acqua: 400ml
La scopa a vapore utilizza il vapore per rimuovere il grasso, la polvere e la sporcizia. Questo
elettrodomestico è il più puro e potente detergente naturale per la pulire in modo sicuro tutte
le superci dei pavimenti più difcili senza l’utilizzo di prodotti chimici corrosivi, essendo così
perfettamente ecologico. Pulisce piastrelle, parquet, linoleum e pavimenti vinilici.
Speciche Tecniche
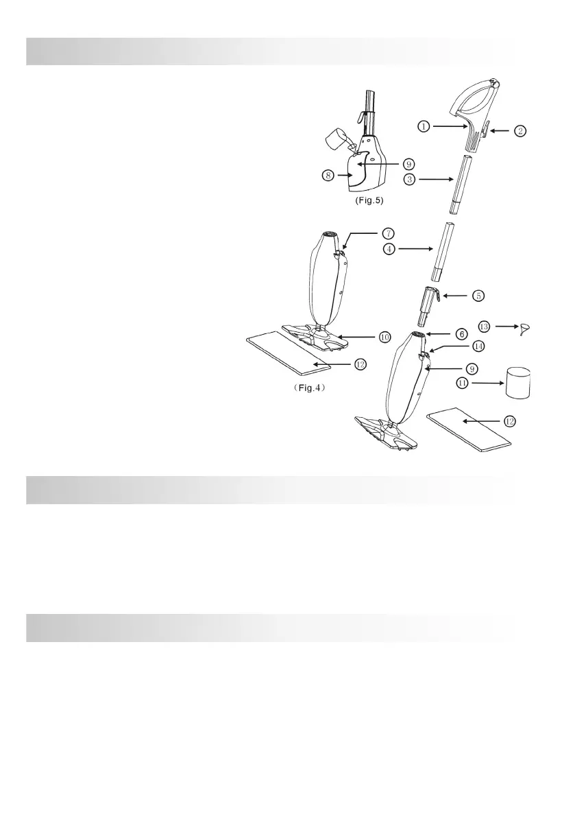
Caratteristiche
1. Impugnatura Ergonomica
2. Gancio a rilascio rapido della corda alto
3. Tubo d’estensione alto
4. Tubo d’estensione basso
5. Gancio alto per la corda
6. Connettore
7. Tappo
8. Serbatoio ad acqua
9. Luce Led
10. Testa della scopa
11. Misurino per acqua
12. Tappetino Pulente in Micro-Fibra (x2)
13. Imbuto
14. Cavo elettrico (non mostrato)
Bekijk gratis de handleiding van Melchioni Vaporpiu, stel vragen en lees de antwoorden op veelvoorkomende problemen, of gebruik onze assistent om sneller informatie in de handleiding te vinden of uitleg te krijgen over specifieke functies.
Productinformatie
| Merk | Melchioni |
| Model | Vaporpiu |
| Categorie | Stoomreiniger |
| Taal | Nederlands |
| Grootte | 1832 MB |
Caratteristiche Prodotto
| Kleur van het product | Green, White |
| Snoerlengte | 5 m |
| Soort | Stoomop/dweil |
| Vermogen | 1500 W |
| Temperatuur (max) | 130 °C |