MBM LTD821D handleiding
Handleiding
Je bekijkt pagina 63 van 150

DISHWASHER INSTRUCTIONS MANUAL
MDIISY31-(r01) Page 9 of 21
UK
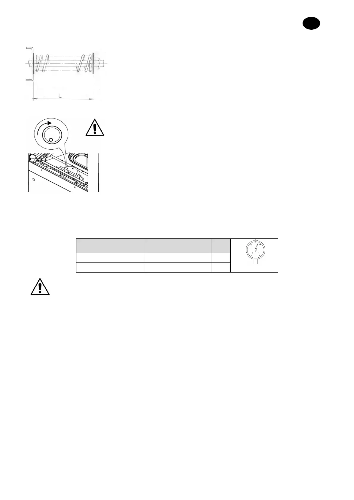
• Check the regulation of the mechanical safety system of the conveyor,
which must be adjusted taking into account the overall length of the
machine and of the output tables measured by themselves.
A full load of baskets full of plates should not block the advancement
of the conveyor.
To make the regulation, turn the screw on the bracket that supports
the conveying motion unit.
The advised L length must range from 60 to 75 mm (see figure).
Please contact your assistance centre for complex applications.
• Make sure that the rotation direction corresponds to the figure and to
the central motion of the conveyor.
WARNING: The mechanical safety will not work efficiently if the
rotation direction is incorrect.
• Check the manometer during rinsing. If necessary, adjust the pressure regulator and set the value
as indicated in the table:
Version
Litres/hour
Baskets/hour
bar
No pre-wash
160
0.6
With pre-wash
270
0.7
Failure to carry out these checks will automatically annul the warranty.
END OF INSTALLATION
• The installation technician must inform the manufacturer in case of functioning and/or safety
anomalies observed during the initial testing.
• The machine can only be used once installation is complete.
• The technician must issue a declaration of work carried out according to the rules of the trade and
to the laws in force.
Bekijk gratis de handleiding van MBM LTD821D, stel vragen en lees de antwoorden op veelvoorkomende problemen, of gebruik onze assistent om sneller informatie in de handleiding te vinden of uitleg te krijgen over specifieke functies.
Productinformatie
| Merk | MBM |
| Model | LTD821D |
| Categorie | Wasmachine |
| Taal | Nederlands |
| Grootte | 21127 MB |





