Handleiding
Je bekijkt pagina 9 van 72

9
Mobile Home - Additional Installation
Requirements
The installation of this range must conform to the Manufactured
Home Construction and Safety Standard, Title 24 CFR, Part 3280
(formerly the Federal Standard for Mobile Home Construction and
Safety, Title 24, HUD Part 280). When such standard is not
applicable, use the Standard for Manufactured Home Installations,
ANSI A225.1/NFPA 501A or with local codes. In Canada, the
installation of this range must conform with the current standards
CAN/CSA-Z240.1 - latest edition, or with local codes.
Mobile Home Installations Require:
� When this range is installed in a mobile home, it must be
secured according to the instructions in this document.
� Any method of securing the range is adequate as long as it
conforms to the standards listed above.
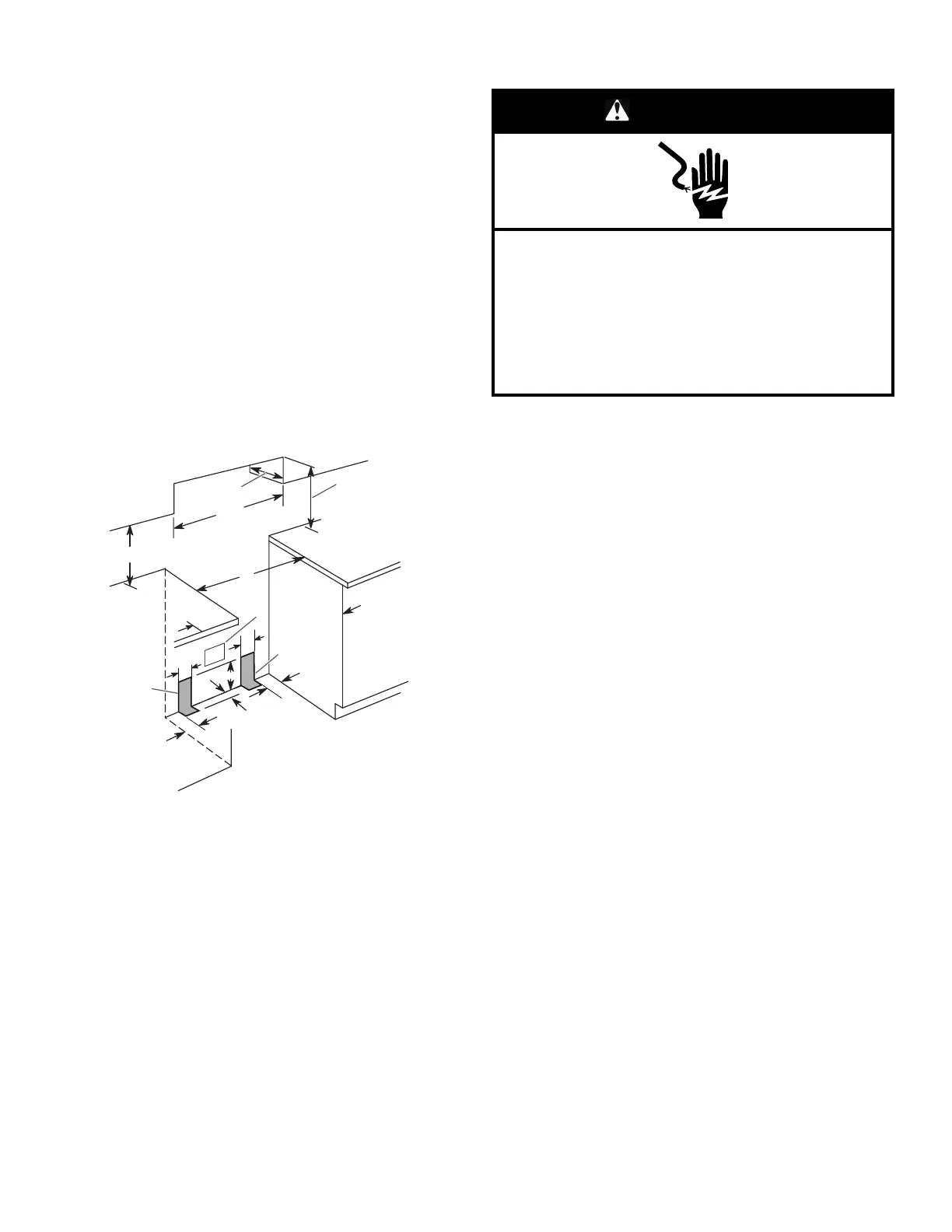
Cabinet Dimensions
Cabinet opening dimensions shown are for 25" (64.0 cm)
countertop depth, 24" (61.0 cm) base cabinet depth and 36"
(91.4 cm) countertop height.
IMPORTANT: If installing a range hood or microwave hood
combination above the cooking surface, follow the range hood or
microwave hood combination installation instructions for
dimensional clearances above the cooktop surface.
N
B
C
D
L
A
E
M
G
I
K
J
F
F
K
H
A. For minimum clearance to top of cooktop, see NOTE*.
B. 13" (33 cm) maximum upper cabinet depth
C. 30" (76.2 cm) minimum opening width
D. 18" (45.7 cm) upper side cabinet to countertop
E. 30" (76.2 cm) minimum opening width
F. The shaded areas are recommended for installation of rigid gas pipe.
G. 4
¹
/
2
" (11.4 cm)
H. 8" (20.3 cm)
I. 17" (43.2 cm)
J. 2" (5.1 cm)
K. 4
¹
⁄
2
" (11.4 cm)
L. 5" (12.7 cm) minimum clearance from both sides of range to side wall
or other combustible material.
M. Grounded outlet
N. Cabinet door or hinges should not extend into the cutout.
*NOTE: 24" (61.0 cm) minimum when bottom of wood or metal
cabinet is shielded by not less than 1/4" (6.35 mm) flame retardant
millboard covered with not less than No. 28 MSG sheet steel,
0.015" (0.4 mm) stainless steel, 0.024" (0.6 mm) aluminum or
0.020" (0.5 mm) copper. 30" (76.2 cm) minimum clearance
between the top of the cooking platform and the bottom of an
uncovered wood or metal cabinet.
Electrical Requirements
WARNING
Electrical Shock Hazard
Plug into a grounded 3 prong outlet.
Do not remove ground prong.
Do not use an adapter.
Do not use an extension cord.
Failure to follow these instructions can result in death,
fire, or electrical shock.
IMPORTANT: The range must be electrically grounded in
accordance with local codes and ordinances, or in the absence of
local codes, with the National Electrical Code, ANSI/NFPA 70 or
Canadian Electrical Code, CSA C22.1.
This range is equipped with an electronic ignition system that will
not operate if plugged into an outlet that is not properly polarized.
If codes permit and a separate ground wire is used, it is
recommended that a qualified electrical installer determine that
the ground path is adequate.
A copy of the above code standards can be obtained from:
National Fire Protection Association
1 Batterymarch Park
Quincy, MA 02169-7471
CSA International
8501 East Pleasant Valley Road
Cleveland, OH 44131-5575
� A 120 V, 60 Hz, AC only, 15 A fused, ground and polarized
electrical circuit is required. A time-delay fuse or circuit breaker
is also recommended. It is recommended that a separate
circuit serving only this range be provided.
� Electronic ignition systems operate within wide voltage limits,
but proper grounding and polarity are necessary. Check that
the outlet provides 120 V power and is correctly grounded.
� This gas range is not required to be plugged into a GFCI
(Ground-Fault Circuit Interrupter) outlet. It is recommended
that you do not plug an electric spark ignition gas range or any
other major appliance into a GFCI wall outlet as it may cause
the GFCI to trip during normal cycling.
� Performance of this range will not be affected if operated on a
GFCI-protected circuit. However, occasional nuisance tripping
of the GFCI breaker is possible due to the normal operating
nature of electronic gas ranges.
� The tech sheet and wiring diagram are located on the back of
the range in a plastic bag.
NOTE: The metal chassis of the range must be grounded in order
for the control panel to work. If the metal chassis of the range is
not grounded, no keypads will operate. Check with a qualified
electrician if you are in doubt as to whether the metal chassis of
the range is grounded.
Bekijk gratis de handleiding van Maytag MFGS4030RB, stel vragen en lees de antwoorden op veelvoorkomende problemen, of gebruik onze assistent om sneller informatie in de handleiding te vinden of uitleg te krijgen over specifieke functies.
Productinformatie
| Merk | Maytag |
| Model | MFGS4030RB |
| Categorie | Fornuis |
| Taal | Nederlands |
| Grootte | 14954 MB |







