Master Kitchen IMK 6041B SP BK handleiding
Handleiding
Je bekijkt pagina 17 van 61

15
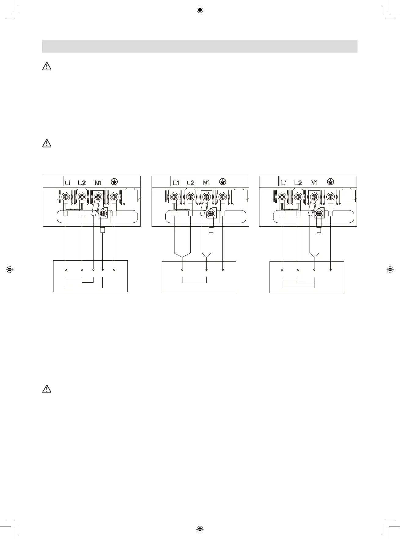
Collegamento del piano cottura alla rete elettrica
Il piano cottura deve essere collegato alla rete elettrica esclusivamente da personale qualificato.
Prima di collegare il piano cottura alla rete elettrica, verificare che:
1. L’impianto elettrico domestico sia adatto alla potenza assorbita dal piano cottura.
2. La tensione corrisponda a quella indicata sulla targhetta.
3. Le sezioni del cavo di alimentazione siano in grado di sopportare il carico indicato sulla targhetta.
Non vengano utilizzati adattatori, riduttori o sdoppiatori per collegare il piano cottura alla rete
elettrica, perché potrebbero provocare surriscaldamenti e incendi.
Il cavo di alimentazione non deve entrare in contatto con parti calde e deve essere posizionato in
modo che la temperatura non superi i 75 ˚C in nessun punto.
Verificare con un elettricista se l’impianto elettrico domestico è adatto senza bisogno di modifiche.
Eventuali modifiche devono essere eseguite solo da un elettricista qualificato.
L1 GNDN1N2L2
GNDL
N
GND
N
L1 L2
Nero
380-415 V~
380-415 V~
220-240 V~
220-240 V~
220-240 V~
220-240 V~
220-240 V~
Nero
Nero
Marrone
Marrone
Marrone
Blu
Blu
Blu
Giallo/Verde
Giallo/Verde
Giallo/Verde
• Se il cavo è danneggiato o deve essere sostituito, l'operazione deve essere eseguita da un agente
post-vendita con appositi strumenti per evitare incidenti.
• Se l'apparecchio viene collegato direttamente alla rete elettrica, deve essere installato un interruttore
omnipolare con una distanza minima di 3 mm tra i contatti.
• L'installatore deve assicurarsi che il collegamento elettrico sia stato eseguito correttamente e che sia
conforme alle norme di sicurezza.
• Il cavo non deve essere piegato o compresso.
• Il cavo deve essere controllato regolarmente e sostituito solo da tecnici autorizzati.
La superficie inferiore e il cavo di alimentazione del piano cottura non devono essere accessibili
dopo l’installazione.
Grigio
Grigio
Grigio
Bekijk gratis de handleiding van Master Kitchen IMK 6041B SP BK, stel vragen en lees de antwoorden op veelvoorkomende problemen, of gebruik onze assistent om sneller informatie in de handleiding te vinden of uitleg te krijgen over specifieke functies.
Productinformatie
Merk | Master Kitchen |
Model | IMK 6041B SP BK |
Categorie | Niet gecategoriseerd |
Taal | Nederlands |
Grootte | 4693 MB |