Master Kitchen HMK 90A3 MS SP BK handleiding
Handleiding
Je bekijkt pagina 53 van 84

05
INSTALLATION
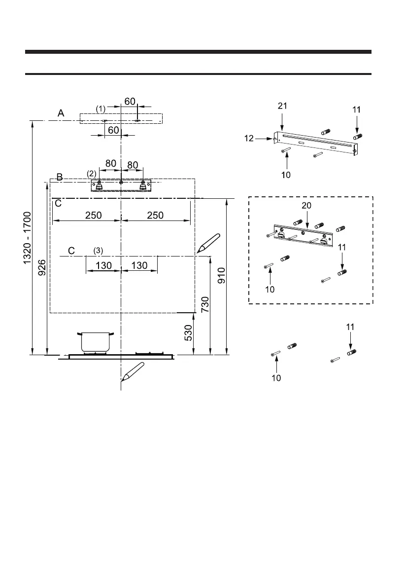
PERÇAGE DU MUR ET FIXATION DU SUPPORT
En option
(EN OPTION)
Dans un premier temps, procédez aux dessins suivants :
● Une ligne verticale jusqu’au plafond ou jusqu’à la limite supérieure, au centre de la zone dans
laquelle la hotte doit être installée.
● Une ligne horizontale A à
1320 – 1700 mm au-dessus du plan de cuisson.
● Une ligne horizontale B à
926 mm au-dessus du plan de cuisson.
● Une ligne horizontale C à
730 (910 en option) mm au-dessus du plan de cuisson.
Points de marquage :
● Marquez un point
(1) sur la ligne horizontale A, 60 mm à droite de la ligne de référence verticale.
● Répétez cette opération de l’autre côté, en vérifiant que les d ux marques sont de niveau.
● Marquez un point
(2) sur la ligne horizontale B, 80 mm à droite de la ligne de référence verticale.
● Répétez cette opération de l'autre côté et sur la ligne de référence verticale, en vérifiant que les
trois marques sont nivelées.
Bekijk gratis de handleiding van Master Kitchen HMK 90A3 MS SP BK, stel vragen en lees de antwoorden op veelvoorkomende problemen, of gebruik onze assistent om sneller informatie in de handleiding te vinden of uitleg te krijgen over specifieke functies.
Productinformatie
| Merk | Master Kitchen |
| Model | HMK 90A3 MS SP BK |
| Categorie | Afzuigkap |
| Taal | Nederlands |
| Grootte | 7657 MB |

