Master Kitchen HMK 90A3 MS SP BK handleiding
Handleiding
Je bekijkt pagina 41 van 84

05
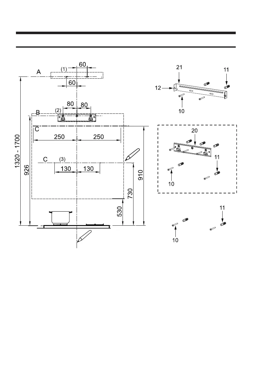
МОНТАЖ
СВЕРЛЕНИЕ СТЕН И КРЕПЛЕНИЕ КРОНШТЕЙНОВ
Дополнительно
(ДОПОЛНИТЕЛЬНО)
В качестве первого шага выполните следующие чертежи:
● Вертикальная линия до потолка или до верхнего предела в центре зоны, в которой должна
быть установлена вытяжка.
● Горизонтальная линия A в точке
1320 - 1700 мм над поверхностью плиты.
● Горизонтальная линия B как минимум
926 мм над поверхностью плиты.
● Горизонтальная линия C, как минимум
730 (910 на выбор) мм над поверхностью плиты.
Отметки:
● Отметка точки
(1) на горизонтальной линии A, 60 мм вправо от вертикальной контрольной
линии.
● Повторите эту операцию с другой стороны, убедившись, что две отметки выровнены.
● Отметка точки
(2) на горизонтальной линии B, 80 мм вправо от вертикальной контрольной
линии.
● Повторите эту операцию с другой стороны и на вертикальной контрольной линии,
убедившись, что три метки выровнены.
Bekijk gratis de handleiding van Master Kitchen HMK 90A3 MS SP BK, stel vragen en lees de antwoorden op veelvoorkomende problemen, of gebruik onze assistent om sneller informatie in de handleiding te vinden of uitleg te krijgen over specifieke functies.
Productinformatie
| Merk | Master Kitchen |
| Model | HMK 90A3 MS SP BK |
| Categorie | Afzuigkap |
| Taal | Nederlands |
| Grootte | 7657 MB |

