Master Kitchen HMK 90A3 MS SP BK handleiding
Handleiding
Je bekijkt pagina 3 van 84

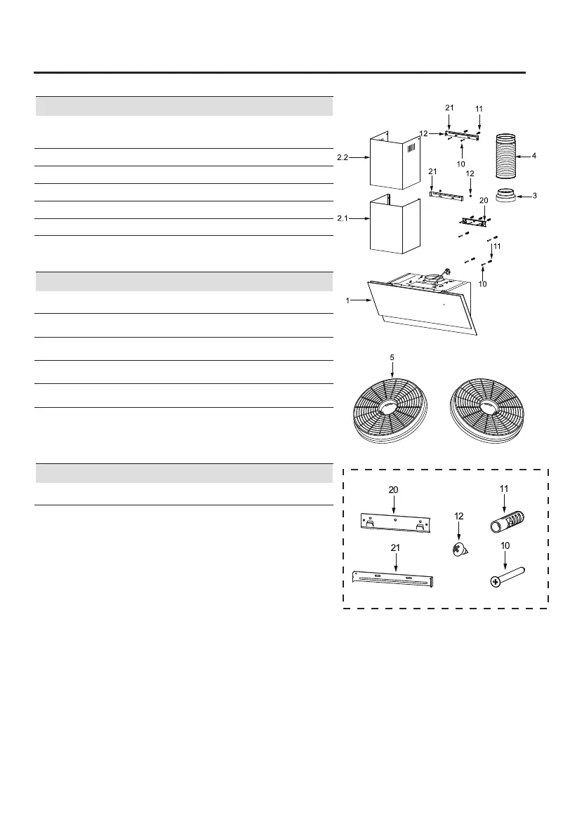
COMPONENTS
Ref. Qty. Product Components
Hood Body, complete with: Controls, Light,
Blower, Filter.
1
1
1
1
1
2
1
2.1
2.2
3
4
5
Lower Decorative Chimney ( optional )
Upper Decorative Chimney ( optional )
Flange ( optional )
Exhaust Pipe
The Activated Charcoal filter ( optional )
Ref. Qty. Installation Components
Screws 5 x 50
7
7
6
1
2
10
11
12
20
21
Wall Plugs
Screws 4.2 x 9.5
Hood fixing bracket ( optional )
Qty. Documentation
Instruction Manual
1
Chimney fixing bracket (0/1 optional )
02 03 04
05 06 07 08
09 10 11 12
Bekijk gratis de handleiding van Master Kitchen HMK 90A3 MS SP BK, stel vragen en lees de antwoorden op veelvoorkomende problemen, of gebruik onze assistent om sneller informatie in de handleiding te vinden of uitleg te krijgen over specifieke functies.
Productinformatie
| Merk | Master Kitchen |
| Model | HMK 90A3 MS SP BK |
| Categorie | Afzuigkap |
| Taal | Nederlands |
| Grootte | 7657 MB |

