Master Kitchen HMK 90A3 MS SP BK handleiding
Handleiding
Je bekijkt pagina 17 van 84

05
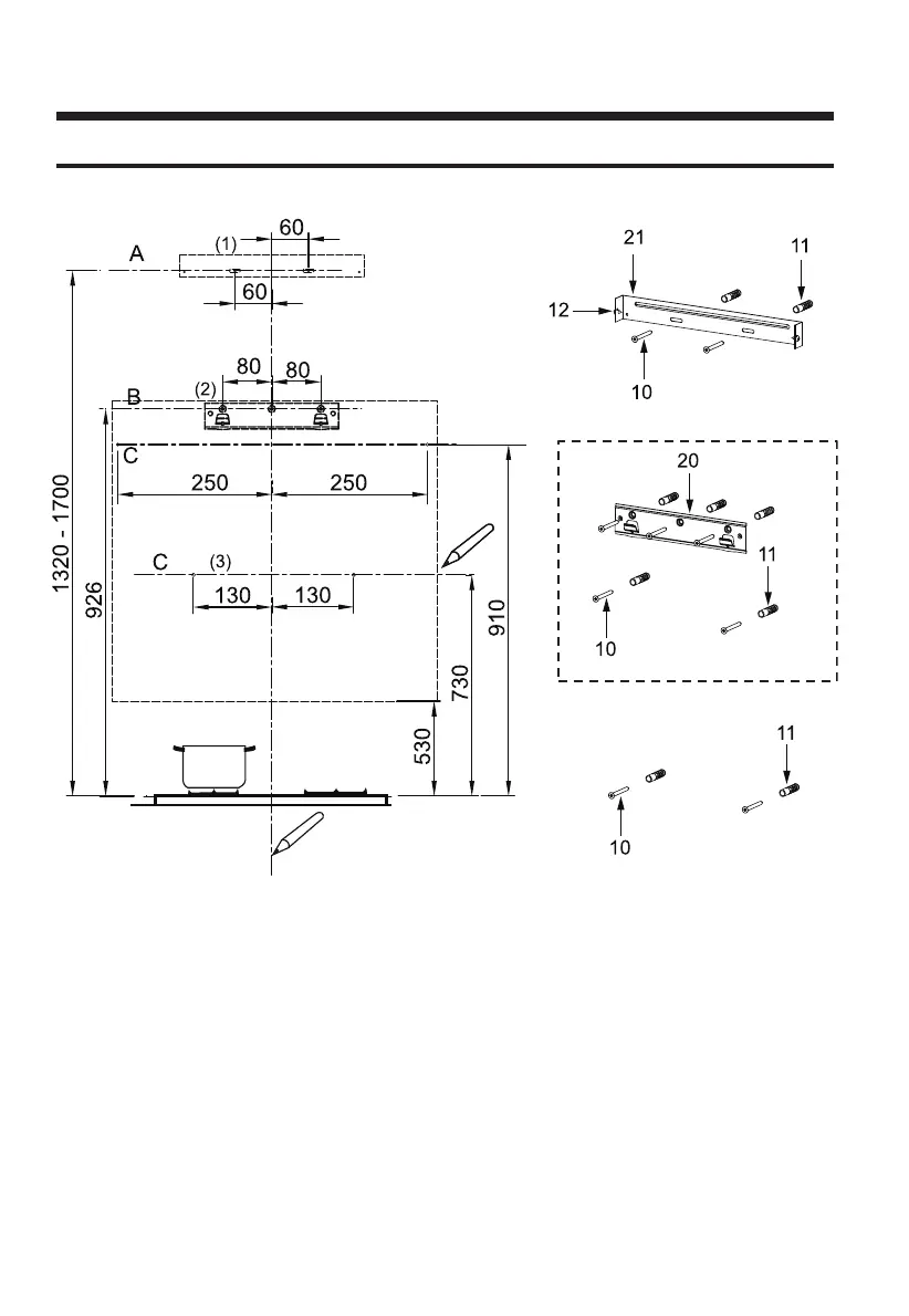
INSTALLAZIONE
FORATURAAPARETEEFISSAGGIOCONSTAFFA
Opzionale
(OPZIONALE)
Come primo passo, procedere con i seguenti disegni:
● Unalineaverticalefinoalsoffittoofinoallimitesuperioreesemprealcentrodellospazioincui
bisognamontarelacappa.
● UnalineaorizzontaleAa
1320 – 1700 mm sopra il piano cottura.
● UnalineaorizzontaleBadalmeno
926 mm sopra il piano cottura.
● UnalineaorizzontaleCadalmeno
730 mm (910 opzionale) sopra il piano cottura.
Segnare i punti:
● Segnareunpunto
(1) sulla linea orizzontale A, a 60 mm a destra della linea di riferimento
verticale.
●
Ripeterequestaoperazionesull'altrolato,verificand cheiduesegnisianoallostessolivello.
● Segnareunpunto
(2) sulla linea orizzontale B, a 80 mm a destra della linea di riferimento
verticale.
● Ripeterequestaoperazionesull'altrolatoesullalineadiriferimentoverticale,verificandochei
tre segni siano a livello.
Bekijk gratis de handleiding van Master Kitchen HMK 90A3 MS SP BK, stel vragen en lees de antwoorden op veelvoorkomende problemen, of gebruik onze assistent om sneller informatie in de handleiding te vinden of uitleg te krijgen over specifieke functies.
Productinformatie
| Merk | Master Kitchen |
| Model | HMK 90A3 MS SP BK |
| Categorie | Afzuigkap |
| Taal | Nederlands |
| Grootte | 7657 MB |

