Master Kitchen HMK 90A3 MS-BS SP BK handleiding
Handleiding
Je bekijkt pagina 77 van 84

05
INSTALACIÓN
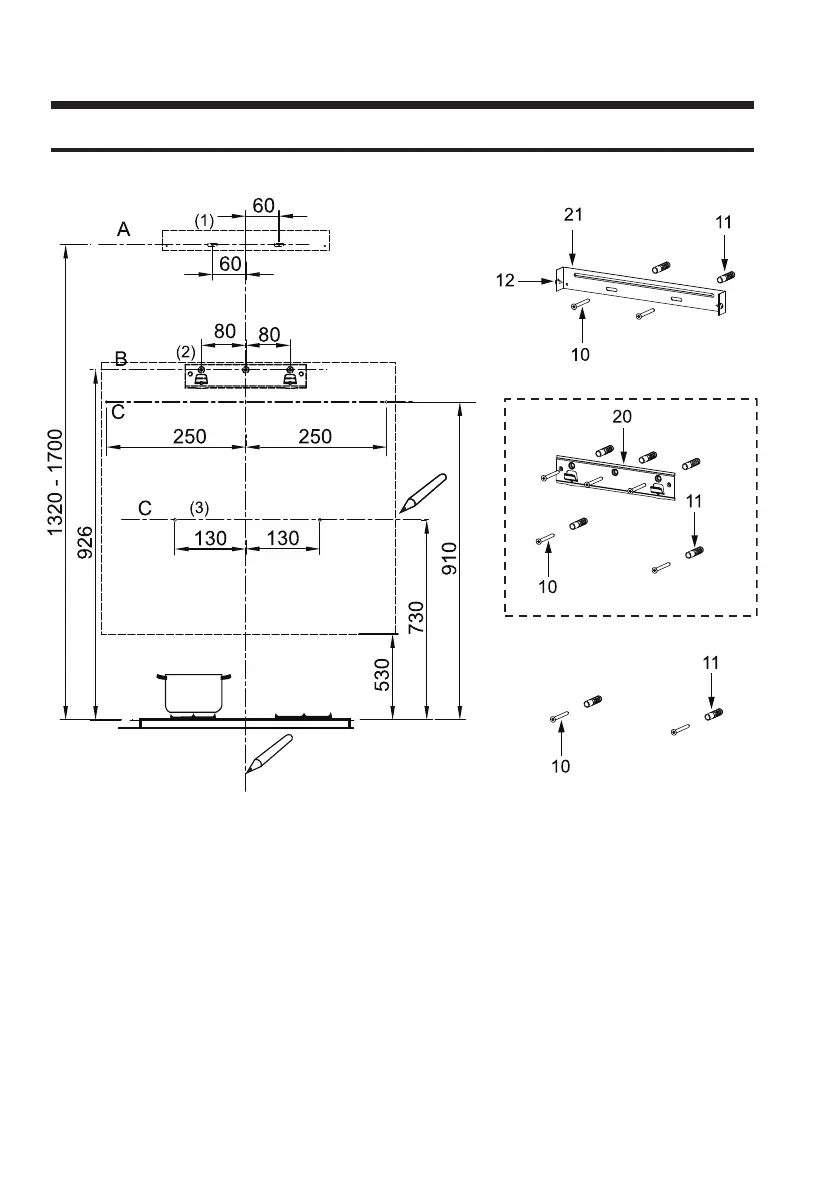
PERFORACIÓN DE PARED Y FIJACIÓN DE SOPORTES
Opcional
(OPCIONAL)
Como primer paso, proceda según los siguientes dibujos:
● Una línea vertical hasta el techo o hasta el límite superior, en el centro de la zona en donde se
instalará la campana.
● Una línea horizontal A en
1320 – 1700 mm por encima de la superfi ie de la cocina.
● Una línea horizontal B a un mínimo de
926 mm por encima de la superficie de la cocina
● Una línea horizontal C a un mínimo de
730 (910 opcional) mm por encima de la superficie de
la cocina.
Marcado de Puntos:
● Marque un punto
(1) en la línea horizontal A, 60 mm a la derecha de la línea de referencia
vertical.
● Repita el marcado en el otro lado, verificando que las dos marcas es én al mismo nivel.
● Marque un punto
(2) en la línea horizontal B,
80 mm a la derecha de la línea de referencia
vertical.
● Repita esta operación al otro lado y en la línea de referencia vertical, verificando que las tres
marcas estén al mismo nivel.
Bekijk gratis de handleiding van Master Kitchen HMK 90A3 MS-BS SP BK, stel vragen en lees de antwoorden op veelvoorkomende problemen, of gebruik onze assistent om sneller informatie in de handleiding te vinden of uitleg te krijgen over specifieke functies.
Productinformatie
| Merk | Master Kitchen |
| Model | HMK 90A3 MS-BS SP BK |
| Categorie | Afzuigkap |
| Taal | Nederlands |
| Grootte | 7657 MB |

