Master Kitchen HMK 90A3 MS-BS SP BK handleiding
Handleiding
Je bekijkt pagina 65 van 84

05
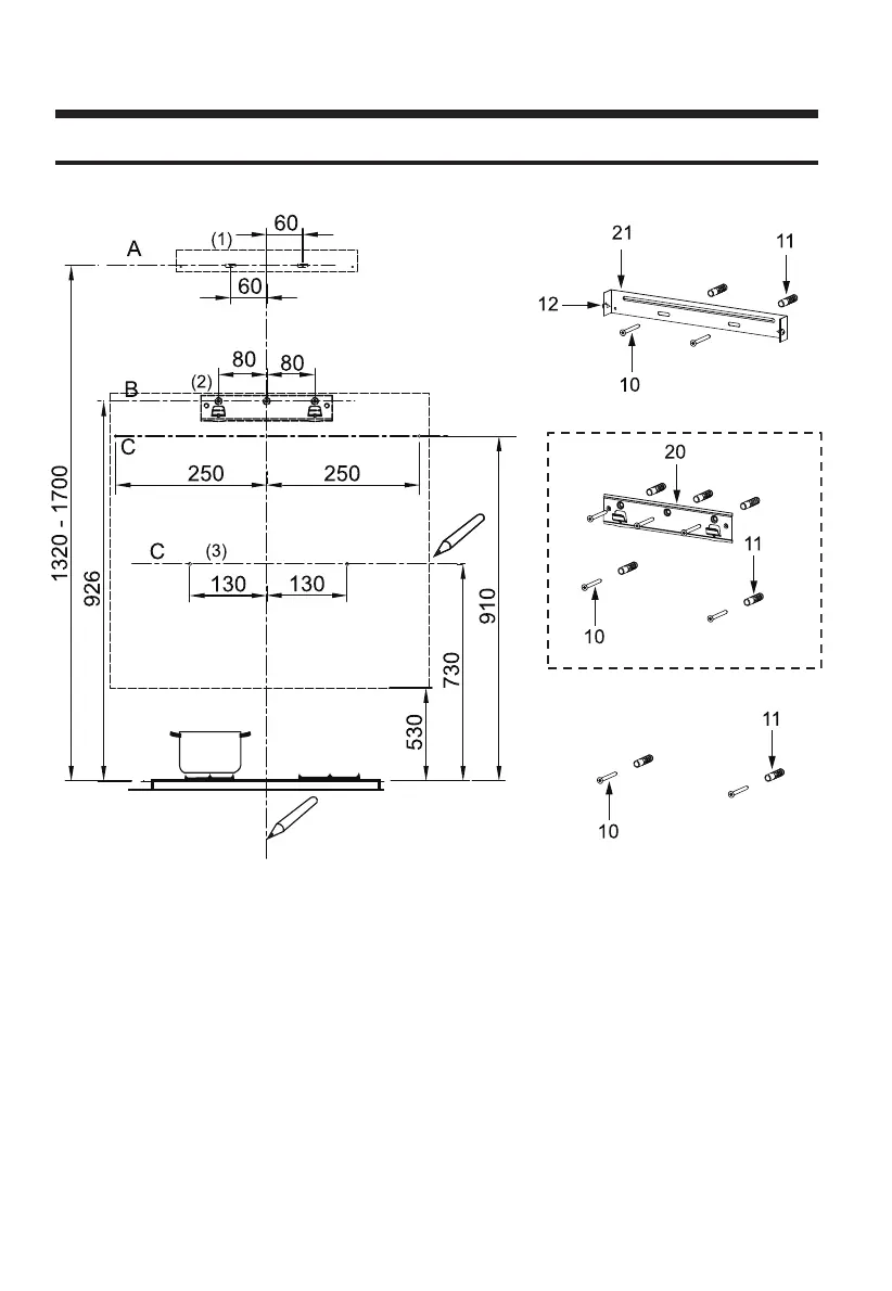
INSTALACIJA
BUŠENJE ZIDOVA I SREĐIVANJE ZAGRADA
Opciono
(OPCIONO)
Kao prvi korak, nastavite sa sledećim crtežima:
● Vertikalna linija do plafona ili do gornje granice, u središtu površine u koju treba uklopiti haubu.
● Horizontalna linija A na
1320 – 1700 mm iznad šporeta top.
● Horizontalna linija B na minimalno
926 mm iznad vrha šporeta.
● Horizontalna linija C na minimalno
730 (910 opciono) mm iznad vrha šporeta.
Označi poene:
● Označi tačku
(1) na horizontalnoj liniji A, 60 mm desno od vertikalne referentne linije.
● Odogledajte ovu operaciju na drugoj strani, proveravajući da li su dve oznake sravnjene.
● Označite tačku
(2) na horizontalnoj liniji B, 80 mm desno od vertikalne referentne linije.
● Ponovite ovu operaciju sa druge strane i na vertikalnoj referentnoj liniji proverite da li su tri
oznake sravnjene.
Bekijk gratis de handleiding van Master Kitchen HMK 90A3 MS-BS SP BK, stel vragen en lees de antwoorden op veelvoorkomende problemen, of gebruik onze assistent om sneller informatie in de handleiding te vinden of uitleg te krijgen over specifieke functies.
Productinformatie
| Merk | Master Kitchen |
| Model | HMK 90A3 MS-BS SP BK |
| Categorie | Afzuigkap |
| Taal | Nederlands |
| Grootte | 7657 MB |

