Master Kitchen HMK 90A3 MS-BS SP BK handleiding
Handleiding
Je bekijkt pagina 17 van 84

05
INSTALLAZIONE
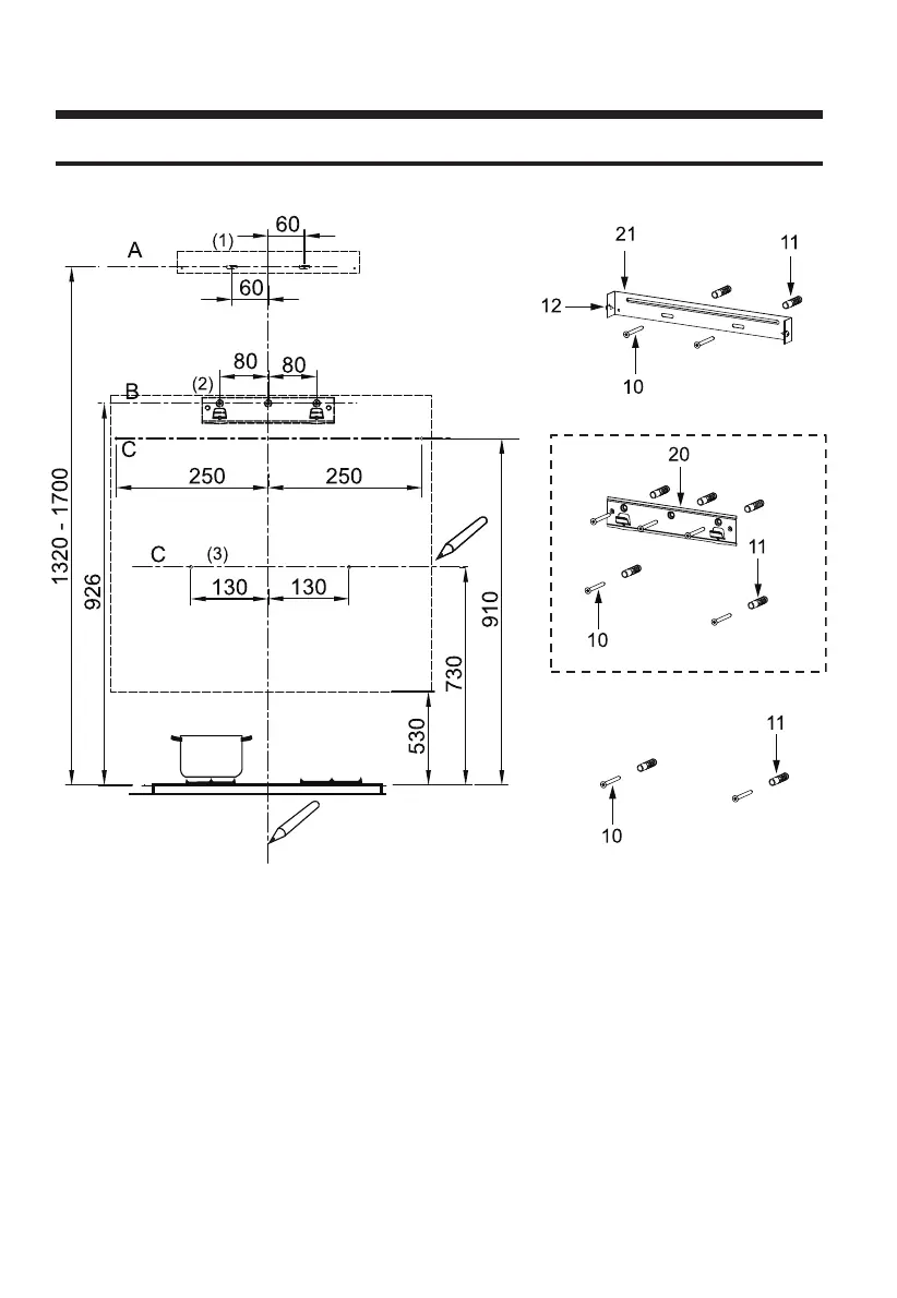
FORATURAAPARETEEFISSAGGIOCONSTAFFA
Opzionale
(OPZIONALE)
Come primo passo, procedere con i seguenti disegni:
● Unalineaverticalefinoalsoffittoofinoallimitesuperioreesemprealcentrodellospazioincui
bisognamontarelacappa.
● UnalineaorizzontaleAa
1320 – 1700 mm sopra il piano cottura.
● UnalineaorizzontaleBadalmeno
926 mm sopra il piano cottura.
● UnalineaorizzontaleCadalmeno
730 mm (910 opzionale) sopra il piano cottura.
Segnare i punti:
● Segnareunpunto
(1) sulla linea orizzontale A, a 60 mm a destra della linea di riferimento
verticale.
●
Ripeterequestaoperazionesull'altrolato,verificand cheiduesegnisianoallostessolivello.
● Segnareunpunto
(2) sulla linea orizzontale B, a 80 mm a destra della linea di riferimento
verticale.
● Ripeterequestaoperazionesull'altrolatoesullalineadiriferimentoverticale,verificandochei
tre segni siano a livello.
Bekijk gratis de handleiding van Master Kitchen HMK 90A3 MS-BS SP BK, stel vragen en lees de antwoorden op veelvoorkomende problemen, of gebruik onze assistent om sneller informatie in de handleiding te vinden of uitleg te krijgen over specifieke functies.
Productinformatie
| Merk | Master Kitchen |
| Model | HMK 90A3 MS-BS SP BK |
| Categorie | Afzuigkap |
| Taal | Nederlands |
| Grootte | 7657 MB |

