LG XD88W handleiding
Handleiding
Je bekijkt pagina 16 van 56

16
EN
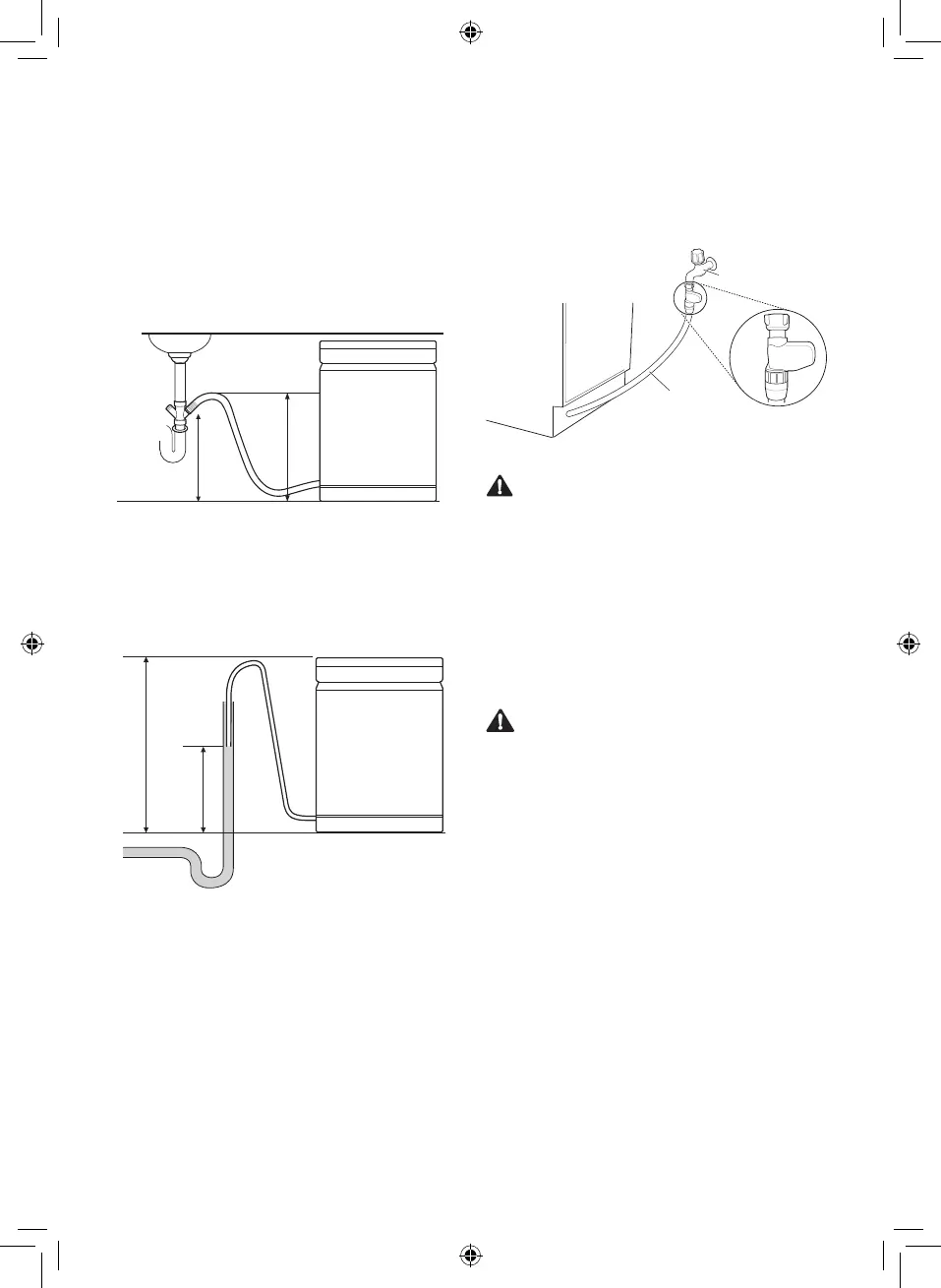
To prevent siphoning, one of the following
methods must be used.
Method 1
When the drain hose is connected to a waste
spigot, the hose must be looped up to the
underside of the bench top and secured.
300 mm Min.
770 mm – 1000 mm
Bench top
Method 2
When the drain hose is connected to a separate
standpipe, it is essential that an airtight
connection be made. If not, it can induce odors.
700 mm Min.
1000 mm Max.
300 mm Min.
Air Tight
Connection
Standpipe 40 mm diametre Min.
Connecting the Water Supply
Hose
Connect the water supply hose to the water tap.
Water tap
Water supply hose
WARNING
• Do not shorten or damage the water supply
hose as it contains electrical wires and
components. It can not be detached or
removed from the appliance for installation
purposes.
• It is important that the water supply hose not
be tampered with, cut, disassembled, pulled,
or kinked. It contains electrical wiring inside
and if damaged, can cause an electrical
hazard.
CAUTION
• This appliance may be fed with either hot or
cold water. If the water connection can not be
maintained below 65ºC, the appliance must be
connected to cold water.
• Use sealant tape or sealing compound on the
tap's thread to avoid water leaks.
• Make sure that the line is not kinked or
sharply bent.
NOTE
• Before connecting the water supply hose to
the tap, turn on the tap to flush out foreign
substances (dirt, sand or sawdust) in the
water lines. Let water drain into a bucket.
• It takes about 3 – 4 minitues for the first
supply water.
Bekijk gratis de handleiding van LG XD88W, stel vragen en lees de antwoorden op veelvoorkomende problemen, of gebruik onze assistent om sneller informatie in de handleiding te vinden of uitleg te krijgen over specifieke functies.
Productinformatie
Merk | LG |
Model | XD88W |
Categorie | Vaatwasser |
Taal | Nederlands |
Grootte | 5080 MB |