LG WM5800HVA handleiding
Handleiding
Je bekijkt pagina 7 van 64

7PRODUCT OVERVIEW
ENGLISH
PRODUCT OVERVIEW
Product Features
The images in this guide may be different from the actual components and accessories, which are subject
to change by the manufacturer without prior notice for product improvement purposes.
WARNING
• For your safety and for extended product life, use only authorized components. The manufacturer is not
responsible for product malfunction, property damage or bodily injury caused by the use of separately
purchased unauthorized components, parts, or non-LG products.
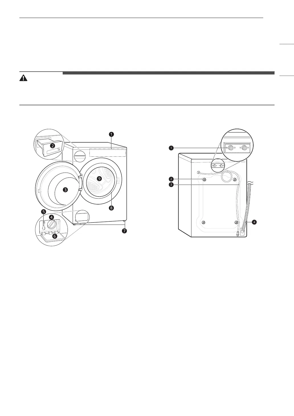
Front View
a Control Panel
b Detergent Dispenser Drawer
c Door
d Drain Pump Filter
e Drain Hose
f Drain Pump Filter Cover
g Leveling Feet
h Door Seal
i Drum
Rear View
a Water Inlets
b Shipping Bolts
c Power Cord
d Drain Hose
Bekijk gratis de handleiding van LG WM5800HVA, stel vragen en lees de antwoorden op veelvoorkomende problemen, of gebruik onze assistent om sneller informatie in de handleiding te vinden of uitleg te krijgen over specifieke functies.
Productinformatie
| Merk | LG |
| Model | WM5800HVA |
| Categorie | Wasmachine |
| Taal | Nederlands |
| Grootte | 5687 MB |







