LG WB21LMC handleiding
Handleiding
Je bekijkt pagina 22 van 28

22
ENGLISH_index
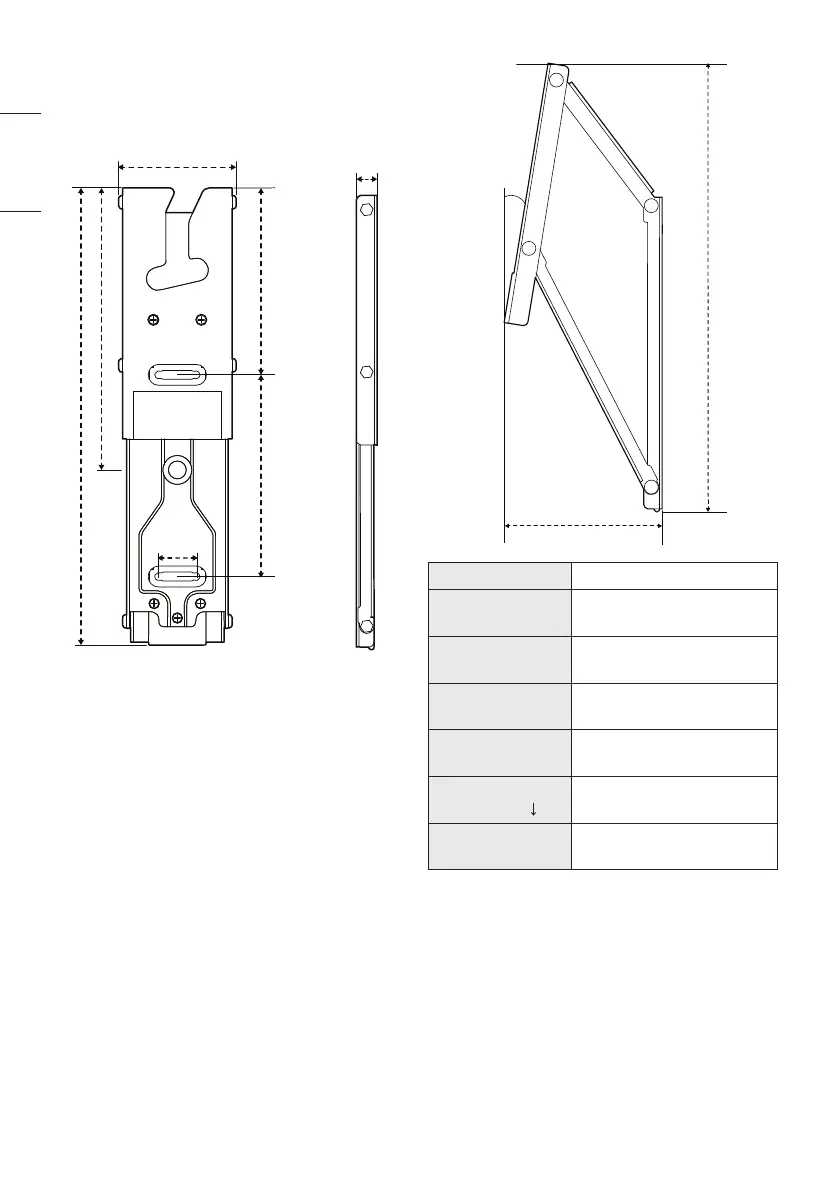
Specications
[Unit: mm(inches)]
73.7 (2.9)
13 (0.5)
285.9 (11.2)
176.5 (6.9)
117 (4.6)
126 (4.9)
25 (0.9)
93.3 (3.6)
9.2˚
267.8 (10.5)
Model Name WB21LMB
Width
(mm(inches))
73.7 (2.9)
Height
(mm(inches))
285.9 (11.2)
Depth
(mm(inches))
13 (0.5)
Product Weight
(kg(lbs))
0.6 (1.3) x 2
Screws Distance
(mm) (65’’ )
200/300/400
Max. Tensile Load
(kg(lbs))
50 (110.2)
Bekijk gratis de handleiding van LG WB21LMC, stel vragen en lees de antwoorden op veelvoorkomende problemen, of gebruik onze assistent om sneller informatie in de handleiding te vinden of uitleg te krijgen over specifieke functies.
Productinformatie
| Merk | LG |
| Model | WB21LMC |
| Categorie | Niet gecategoriseerd |
| Taal | Nederlands |
| Grootte | 2666 MB |







