Handleiding
Je bekijkt pagina 26 van 132

26 OPERATION
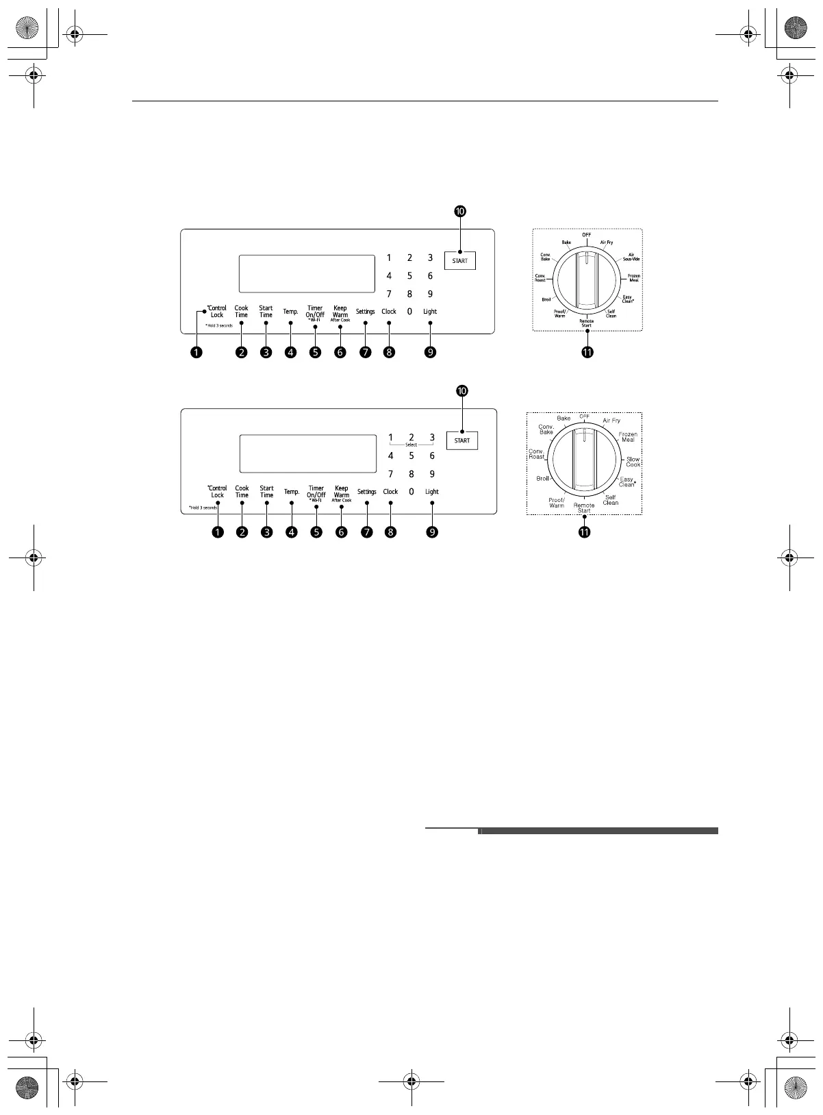
Control Panel
Control Panel Features
Model: LSEL6337*E
Model: LSEL6335*E
a Control Lock
Press and hold the button for 3 seconds to lock
the control panel.
b Cook Time
Press the button to set the desired amount of
time for food to cook. The oven shuts off when
the set cooking time runs out.
c Start Time
Press the button to set the delayed timed cook.
The oven starts at the set time.
d Temp.
Press the button to set the oven temperature
during oven use.
e Timer On/Off / Wi-Fi
Press the button to set or cancel the timer.
Press and hold the button for 3 seconds to
connect the appliance to a Wi-Fi network.
f Keep Warm
Press the button to keep food warm in the oven
after cooking.
• This feature should be used after cooking in
the oven.
g Settings
Press the button to select and adjust oven
settings.
h Clock
Press the button to set the time of day.
i Light
Press the button to turn the oven light on or
off.
j START
Press the button to start all oven features.
k Oven Mode Knob
Turn the knob to select the oven operating
mode.
NOTE
• Flashing Clock
If the colon in the clock display flashes, press
Clock and reset the time, or press any key to
stop the flashing.
• Press any button on the control panel to activate
the display. In standby mode, the screen is
dimmed.
• Setting the Time, Timer and Temperature
en-us_main.book.book Page 26 Sunday, January 19, 2025 9:15 AM
Bekijk gratis de handleiding van LG ProBake LSEL6337XE, stel vragen en lees de antwoorden op veelvoorkomende problemen, of gebruik onze assistent om sneller informatie in de handleiding te vinden of uitleg te krijgen over specifieke functies.
Productinformatie
Merk | LG |
Model | ProBake LSEL6337XE |
Categorie | Fornuis |
Taal | Nederlands |
Grootte | 17396 MB |