Handleiding
Je bekijkt pagina 13 van 48

13INSTALLATION
ENGLISH
Step 3: Prepare the Venting Blower
Your microwave oven is shipped with the blower
assembled for room venting. You need to adjust
the blower if you want wall-venting or roof-venting
installation.
WARNING
• Electric shock hazard! Unplug unit before
working on it.
• Do not pull or stretch the blower wiring. Pulling
and stretching the blower wiring could result in
electric shock.
• To avoid risk of property damage, unplug the
microwave oven or disconnect the power at the
source by removing the fuse or throwing the
circuit breaker.
• To avoid risk of personal injury, wear protective
gloves when handling the mounting plate.
Installation
1 Remove any shipping materials and parts
from inside the microwave oven. Set them
aside for later use.
2 Cover the countertop or cooktop with a thick,
protective covering to protect it from damage
and dirt.
a Blanket, cardboard or other covering
NOTE
• If you have a free-standing range, disconnect it,
move it onto a piece of cardboard or hardboard
and pull it away from the wall, so that you can
get closer to the upper cabinet and back wall for
easier measuring and drilling.
3 Locate the exhaust adapter, grease filters and
hardware packet.
4 At this point, remove any adhesive tape (if
there is any), on the exhaust adapter, the
grease filters and the power supply cord.
Room-Venting (Recirculating)
Installation
This oven is shipped assembled for room-venting.
Wall-Venting Installation
1 Remove one or several blower plate mounting
screw(s) a and one or two blower unit
mounting screw(s)
f. Remove the blower
plate
d from the cabinet.
b Blower unit
c Knockouts
e Back plate
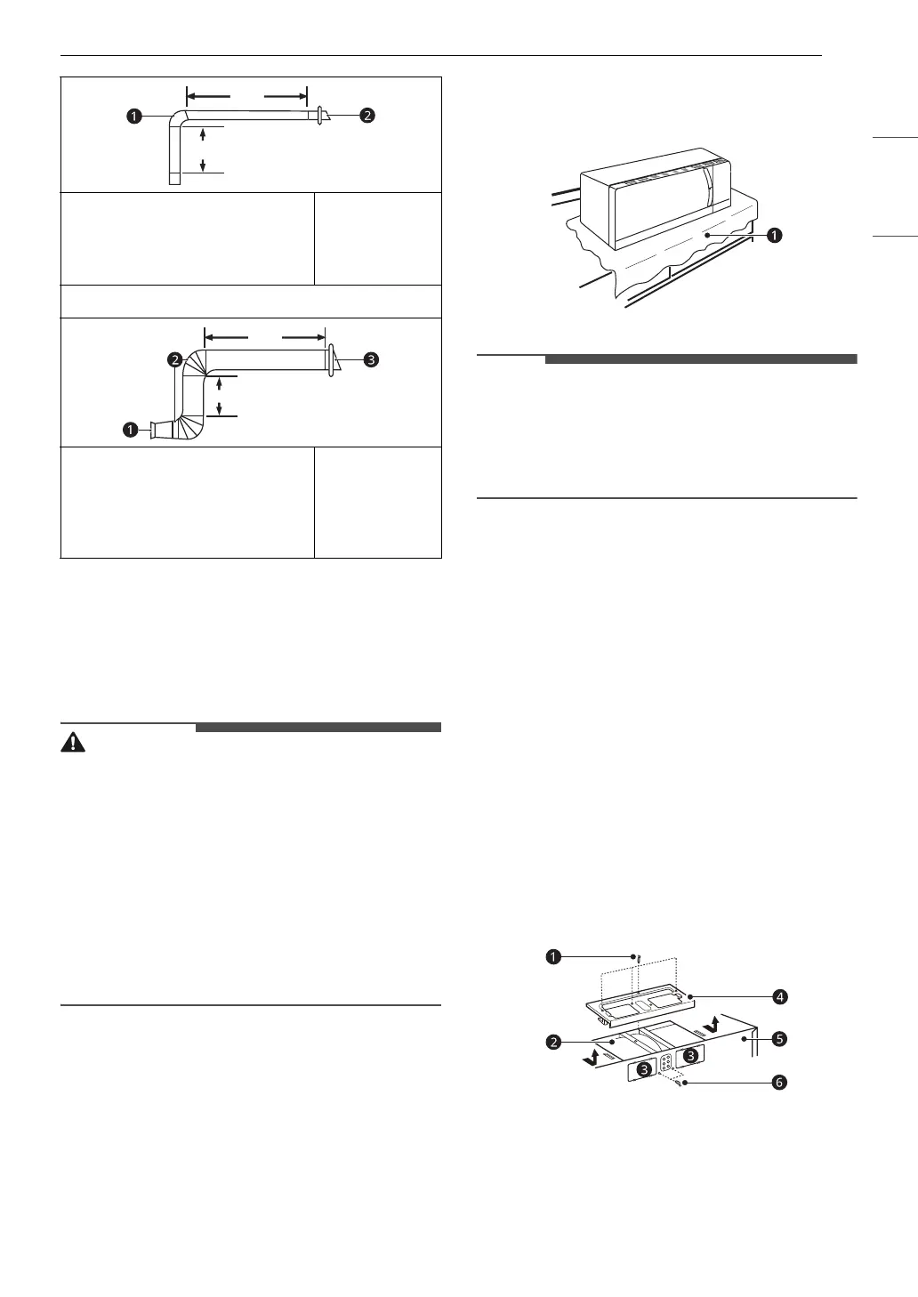
1/4" x 10" 90° elbow a (1ea)
Wall cap
b(1ea)
Straight duct (8 ft)
Total length
= 25 ft
= 40 ft
= 8 ft
= 73 ft
For 6" round systems
Transition (1ea)
90°elbows
b (2ea)
Wall cap
c (1ea)
Straight duct (8 ft)
Total length
= 5 ft
= 20 ft
= 40 ft
= 8 ft
= 73 ft
6 ft
2 ft
2 ft
6 ft
Bekijk gratis de handleiding van LG MVEM1825Z, stel vragen en lees de antwoorden op veelvoorkomende problemen, of gebruik onze assistent om sneller informatie in de handleiding te vinden of uitleg te krijgen over specifieke functies.
Productinformatie
Merk | LG |
Model | MVEM1825Z |
Categorie | Magnetron |
Taal | Nederlands |
Grootte | 4669 MB |