Handleiding
Je bekijkt pagina 17 van 40

17INSTALLATION
ENGLISH
Step 5: Install the Mounting Plate
The oven must be connected to at least one wall
stud.
1 Center the rear wall template in the space by
lining up the plumb line on the wall with the
centerline on the template. Then securely
tape or tack the rear wall template in place.
Make sure the minimum width is 30 inches
and that the top of the rear wall template is
located a minimum of 30 inches above the
cooking surface.
NOTE
• If the cabinets are not plumb, adjust the rear
wall template to the cabinets. If the front edge of
the cabinet is lower than the back edge, adjust
the template to be level with the cabinet front.
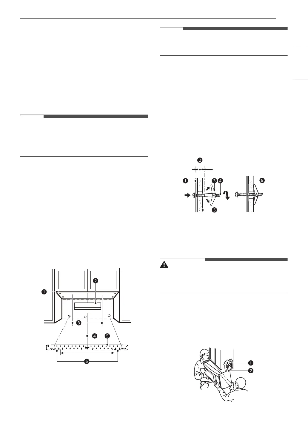
2 Drill holes at points A and B. Drill the third
hole inside area C, through one of the bottom
holes to match the location of a stud. If there
is a stud, drill a 3/16 hole for lag screws. If
there is no stud, drill a 5/8 hole for toggle
bolts. These holes must be used for
mounting. If the holes are not used, the
installation will not be secure. The installer
must use these holes for proper installation.
Use toggle bolts through these holes, unless
one of them lines up with a stud. Use a lag
screw for studs. Make sure to use at least 1
lag screw in a stud, and 2 toggle bolts in the
drywall or the plaster.
a Minimum 66" from the floor
b For wall - venting only
c Draw lines on studs
d Draw center Line
e Mounting plate
f Support tab
NOTE
• Cut out the shaded area marked F on the rear
wall template for wall-venting.
3 Remove the template from the rear wall.
4 Attach the plate to the wall e. To use spring
toggle head bolts d: Remove the toggle
wings
c from the bolts. Insert the bolts into
the mounting plate
a and replace the spring
toggle head to 3/4 of the length past the bolt
ends. Insert the spring toggle head into the
holes in the wall to mount the plate. You may
pull forward on the plate to help in tightening
the toggle bolts. Tighten all bolts.
b Space more than wall thickness
f Bolt end
Step 6: Attach the Oven to the Wall
WARNING
• To avoid risk of personal injury or property
damage, you will need two people to install this
microwave oven.
1 Carefully lift the microwave oven and hang it
on the support tabs at the bottom of the
mounting plate. Reaching through the upper
cabinet, thread the power supply cord
a
through the power supply cord hole
b in the
bottom of the upper cabinet.
A
A
B
B
C
Bekijk gratis de handleiding van LG MVEM1621Y, stel vragen en lees de antwoorden op veelvoorkomende problemen, of gebruik onze assistent om sneller informatie in de handleiding te vinden of uitleg te krijgen over specifieke functies.
Productinformatie
Merk | LG |
Model | MVEM1621Y |
Categorie | Magnetron |
Taal | Nederlands |
Grootte | 4056 MB |