Handleiding
Je bekijkt pagina 22 van 80

22 OPERATION
OPERATION
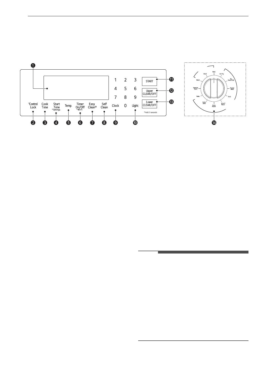
Control Panel
Control Panel Features
a Display
Press any button on the control panel to
activate the display.
b Control Lock
Press and hold the button for 3 seconds to lock
the control panel.
c Cook Time
1
Press the button to set the desired amount of
time for food to cook. The oven shuts off when
the set cooking time runs out.
d Start Time
1
/ Settings
• Press the button to set the delayed timed
cook. The oven starts at the set time.
• Press and hold the button for 3 seconds to
select and adjust oven settings.
e Temp.
1
Press the button to set the oven temperature
during oven use.
f Timer On/Off / Wi-Fi
• Press the button to set or cancel the oven
timer.
• Press and hold the button for 3 seconds to
connect the appliance to a Wi-Fi network.
g Easy Clean
1
Press the button to set the Easy Clean.
h Self Clean
1
Press the button to set the Self Clean.
i Clock
Press the button to set the time of day.
j Light
Press the button to turn the light in both ovens
on or off.
k START
Press the button to start all oven features.
l Upper CLEAR/OFF
Press the button to end all upper oven
features.
m Lower CLEAR/OFF
Press the button to end all lower oven features.
n Oven Mode Knob
Turn the knob to select the oven operating
mode. The upper oven settings are seen in the
upper area of the display and the lower oven
settings are seen in the lower area of the
display.
NOTE
•
1
Press once for the upper oven and twice for the
lower oven.
• Flashing Clock
If the colon in the clock display flashes, press
Clock and reset the time, or press any key to
stop the flashing.
• Setting the Time, Timer and Temperature
If you enter one digit of a number incorrectly,
enter the entire number again to correct it. For
example, if you press 1, 0, 3 and 1 to set the
clock for 10:30, press 1, 0, 3 and 0 to enter the
correct time.
/
2
:
(
5
8
3
3
(
5
Bekijk gratis de handleiding van LG LTEL7337SS, stel vragen en lees de antwoorden op veelvoorkomende problemen, of gebruik onze assistent om sneller informatie in de handleiding te vinden of uitleg te krijgen over specifieke functies.
Productinformatie
Merk | LG |
Model | LTEL7337SS |
Categorie | Fornuis |
Taal | Nederlands |
Grootte | 8286 MB |