Handleiding
Je bekijkt pagina 6 van 172

6 IMPORTANT SAFETY INSTRUCTIONS
WARNING
• Do not step or sit on the oven door. The range could be tipped and injury might result from spilled hot
liquid, food, or the range itself.
• Never remove the oven legs. The range will not be secured to the anti-tip bracket if the legs are
removed.
WARNING
WARNING
• To reduce the risk of explosion, fire, death, electric shock, injury or scalding to persons when using this
product, follow basic precautions, including the following:
Installation
• Do not attempt to open or close the door or operate the oven until the door is properly installed.
• Have the installer show you the location of the range gas shut-off valve and how to shut it off if
necessary.
• To shut off the gas supply to the range, close the range gas shut-off valve by turning it clockwise.
• Make sure your range is properly installed and grounded by a qualified installer, according to the
installation instructions. Any adjustment and service should be performed only by qualified gas range
installers or service technicians.
• Make sure your range is properly adjusted by a qualified service technician or installer for the type of gas
(natural or LP) that is to be used. Your range can be converted for use with either type of gas. See the
installation instructions.
• These adjustments must be done by a qualified service technician according to the manufacturer’s
instructions and all codes and requirements of the authority having jurisdiction. Failure to follow these
instructions could result in serious injury or property damage. The qualified agency performing these
adjustments assumes responsibility for the conversion.
• Disconnect the electrical supply before servicing the appliance.
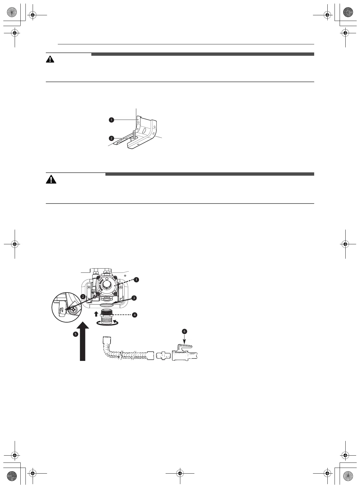
aAnti-tip bracket
bLeveling leg
a Pressure regulator
b Lever open (use) position
c Remove the label
d Adapter (1/2"-14 NPT)
e Gas flow into range
f Range gas shut-off valve
en-us_main.book.book Page 6 Wednesday, February 5, 2025 3:13 PM
Bekijk gratis de handleiding van LG LSGL6335Z, stel vragen en lees de antwoorden op veelvoorkomende problemen, of gebruik onze assistent om sneller informatie in de handleiding te vinden of uitleg te krijgen over specifieke functies.
Productinformatie
Merk | LG |
Model | LSGL6335Z |
Categorie | Fornuis |
Taal | Nederlands |
Grootte | 24255 MB |