LG LDTH5554S handleiding
Handleiding
Je bekijkt pagina 18 van 56

18 INSTALLATION
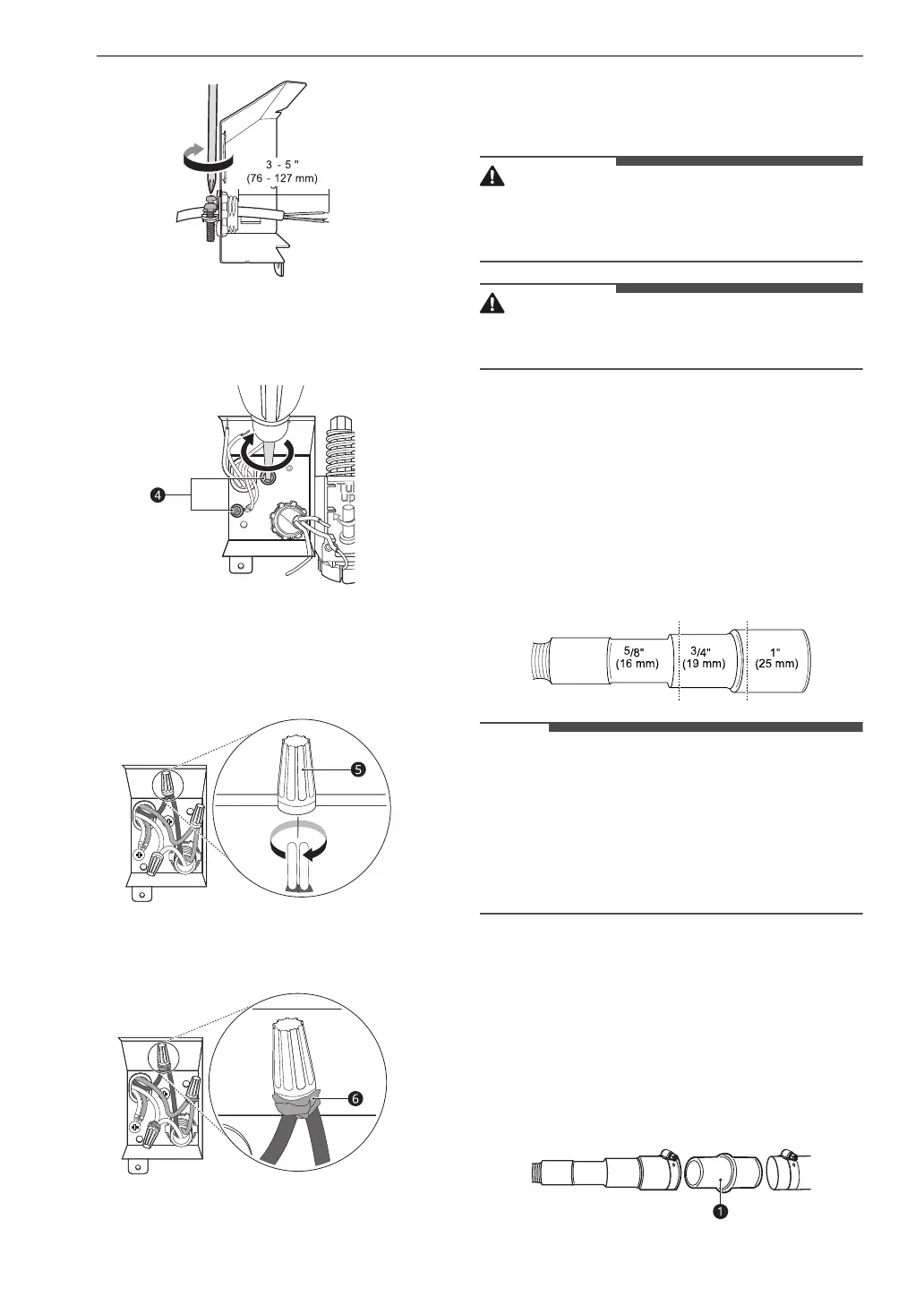
7 Pull the existing wires through the openings
in the junction box. Tighten 2 screws d to
reassemble the junction box in the appliance.
8 Pair the white, black, and green wires to the
matching colored wires from the dishwasher.
Then twist on the provided wire nuts e tightly
to connect the corresponding wires.
9 Wrap electrical tape f around each
connection.
10 Fold the connected wires back into the
junction box and screw on the junction box
cover.
WARNING
• Verify that the black wire is hot (120 V). If not, or
if you are unsure of the power supply, have it
checked by a licensed electrician.
CAUTION
• Do not leave stripped wire exposed. Trim
stripped wire to fit completely inside wire nuts.
Connecting the Drain Hose
If the end of the drain hose does not fit the drain
line, use a heat and detergent resistant adapter
(not supplied). These may be obtained from a local
plumbing supply store.
• Cut the adapter to match the size of the drain
connection as shown. Cutting just beyond the
flare helps to keep the band clamp in place.
NOTE
• For drain hose installation, use the screw style
hose clamp provided with this dishwasher in the
silverware basket.
• If connecting the dishwasher’s drain hose to the
garbage disposal, be sure to follow your
garbage disposal’s manual for proper
installation instructions.
Drain Hose Requirements
• Follow local codes and ordinances.
• Do not exceed 12 ft. (3.65 m) distance to drain.
• Do not connect drain hoses from other
appliances to the dishwasher’s drain hose.
• If an extension drain hose is required, use a 5/8"
or 7/8" inside diameter, 2-3 ft. length hose and a
coupler
a for connecting the two hose ends.
Bekijk gratis de handleiding van LG LDTH5554S, stel vragen en lees de antwoorden op veelvoorkomende problemen, of gebruik onze assistent om sneller informatie in de handleiding te vinden of uitleg te krijgen over specifieke functies.
Productinformatie
| Merk | LG |
| Model | LDTH5554S |
| Categorie | Wasmachine |
| Taal | Nederlands |
| Grootte | 6183 MB |







