LG LDPH7972B handleiding
Handleiding
Je bekijkt pagina 91 van 196

27FUNCIONAMIENTO
ESPAÑOL
Panel de control
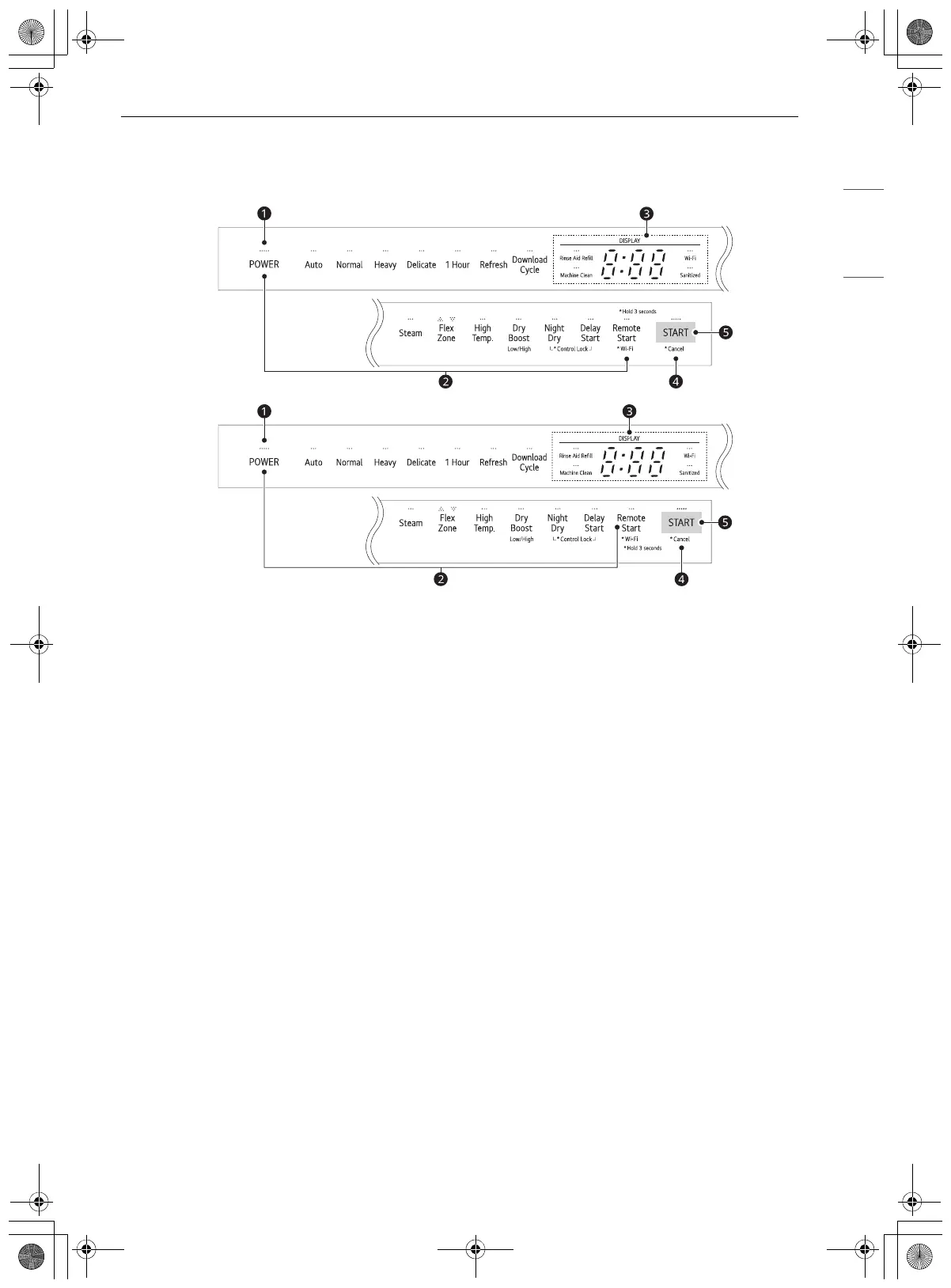
Funciones del panel de control
a Botón de Encendido
• Presione este botón para encender o apagar la lavadora.
• Después de completar el ciclo, la energía se apaga automáticamente por seguridad y economía.
• Si se produce una sobrecarga eléctrica, un apagón o una interrupción del suministro eléctrico de
cualquier clase, la energía se apaga de manera automática por cuestiones de seguridad.
• Cuando se vuelve a conectar la electricidad, el lavavajillas se enciende automáticamente y el ciclo se
reanuda.
b Opción modo configuración
• Puede ajustar varias opciones con la opción modo configuración.
• Con el electrodoméstico apagado, presione Encendido y Remote Start (Inicio a distancia)
simultáneamente para acceder a la opción modo configuración.
• Consulte el tema Uso de la opción modo configuración para conocer cada función de la opción
modo configuración.
c Pantalla
• Rinse Aid Refill (Ayuda en relleno de enjuague)
- Este luz LED se enciende cuando el nivel de abrillantador es bajo. La luz LED se apaga
automáticamente cuando el compartimiento del abrillantador se vuelve a llenar o el nivel se
configura en 0.
- Para ajustar el nivel de abrillantador, consulte el tema Uso de la opción modo configuración.
• Machine Clean (Limpieza de la máquina)
- La luz LED Machine Clean (Limpieza de la máquina) parpadea cada 30 ciclos. Para activar o
desactivar luz LED, consulte el tema Uso de la opción modo configuración.
•
8:88 : Pantalla digital
- La pantalla digital del panel de control muestra el tiempo ESTIMADO del ciclo. Cuando se
seleccionan el ciclo y las opciones, la pantalla muestra el tiempo estimativo total para completar
ls_main.book.book Page 27 Wednesday, June 29, 2022 2:34 PM
Bekijk gratis de handleiding van LG LDPH7972B, stel vragen en lees de antwoorden op veelvoorkomende problemen, of gebruik onze assistent om sneller informatie in de handleiding te vinden of uitleg te krijgen over specifieke functies.
Productinformatie
| Merk | LG |
| Model | LDPH7972B |
| Categorie | Wasmachine |
| Taal | Nederlands |
| Grootte | 29696 MB |







