LG LDFN4542BSS handleiding
Handleiding
Je bekijkt pagina 28 van 180

28 OPERATION
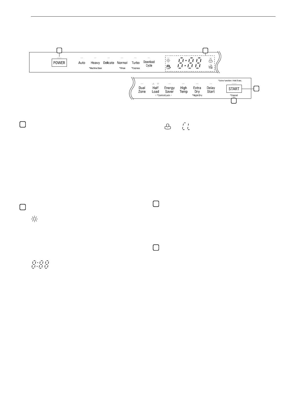
Control Panel
1
2
4
3
1
Power
• Press the Power button to turn power on and
off.
• After the cycle is complete, the power
automatically turns off for purposes of safety and
economy.
• If there is a power surge, power outage, or
disruption of any kind, power is automatically
turned off for safety.
• When power is connected again, it will turn on
automatically and resume the cycle.
2
Display
• : Rinse Aid Icon
- This icon illuminates when the rinse aid level is
low. The LED automatically shuts off when the
rinse aid is refilled or the level is set to 0.
- Refer to the Rinse Aid Dispenser Adjustment
section.
• : Digital Display
- The digital display on the control panel shows
the ESTIMATED cycle time. When the cycle
and options are selected, the display shows
the total estimated time to complete those
selections. During operation, the display shows
the remaining estimated operating time.
NOTE
• The estimated time shown on the display does
not include delay times for heating water, etc.
• If Delay Start is selected, the display shows the
delay time in hours.
• Cycle time may vary depending on the soil level
of your load.
• , : Control Lock
- The Control Lock feature helps prevent
settings from being changed during a cycle.
Selecting this feature locks all of the buttons,
except for the Power button, on the control
panel. This feature does not lock the door.
- While a cycle is running, press and hold Half
Load and Energy Saver simultaneously for
three seconds to activate or deactivate Control
Lock.
- To start a new cycle, deactivate Control Lock.
3
Cancel
• The drain pump activates and the cycle cancels.
Once the dishwasher finishes draining, the
power turns off.
• Press and hold Start for three seconds to
activate.
4
Start
• To operate the machine, either press Start and
close the door within four seconds or close the
door and press Start.
• If Start button is not pressed to start the cycle,
an alert will sound.
Chime On/Off
• To activate or deactivate the button sounds,
press and hold Dual Zone and Energy Saver
simultaneously for three seconds. The error alert
sound cannot be turned off.
Bekijk gratis de handleiding van LG LDFN4542BSS, stel vragen en lees de antwoorden op veelvoorkomende problemen, of gebruik onze assistent om sneller informatie in de handleiding te vinden of uitleg te krijgen over specifieke functies.
Productinformatie
| Merk | LG |
| Model | LDFN4542BSS |
| Categorie | Wasmachine |
| Taal | Nederlands |
| Grootte | 20451 MB |







