Handleiding
Je bekijkt pagina 22 van 92

22
HOW TO USE
In-Door Ice Bin
* Depending on the model, some of the following functions
may not be available.
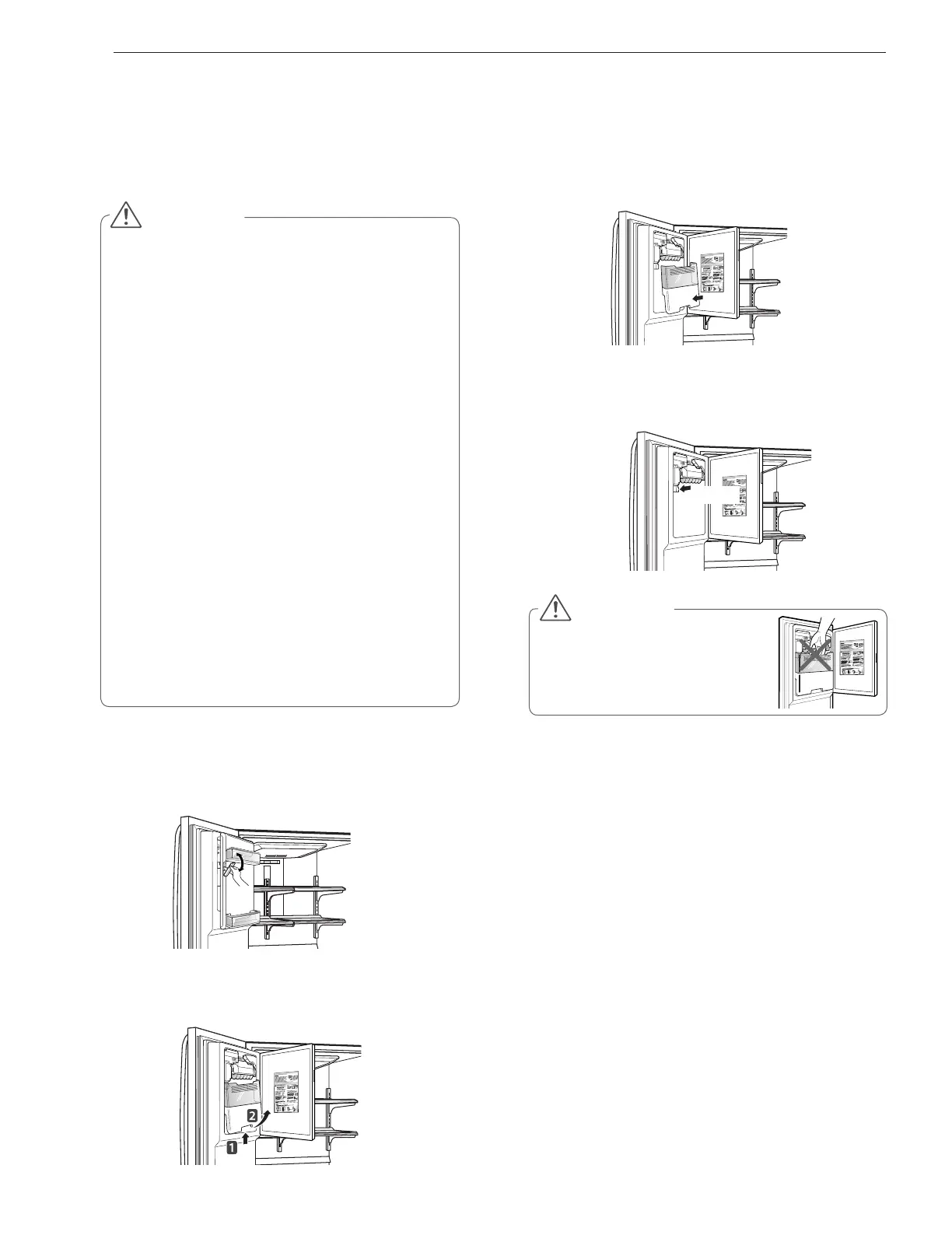
Detaching the In-Door Ice Bin
1
Gently pull the handle to open the ice compartment.
2
To remove the in-door ice bin, grip the front handle, slight-
ly lift the lower part, and slowly pull out the bin as shown.
Assembling the In-Door Ice Bin
1
Carefully insert the in-door ice bin while slightly slanting it
to avoid contact with the icemaker.
2
Avoid touching the ice-detecting sensor when replacing
the ice bin. See the label on the ice compartment door for
details.
Keep hands and tools out of the ice compartment
y
door and dispenser chute. Failure to do so may result
in damage or personal injury.
The icemaker will stop producing ice when the in-
y
door ice bin is full. If you need more ice, empty the
ice bin into the extra ice bin in the freezer compart-
ment. During use, the ice can become uneven caus-
ing the icemaker to misread the amount of ice cubes
and stop producing ice. Shaking the ice bin to level
the ice within it can reduce this problem.
Storing cans or other items in the ice bin will damage
y
the icemaker.
Keep the ice compartment door closed tightly. If the
y
ice compartment door is not closed tightly, the cold
air in the ice bin will freeze food in the refrigerator
compartment. This could also cause the icemaker to
stop producing ice.
If the O
y
N/OFF switch on the icemaker is set to OFF
for an extended period of time, the ice compartment
will gradually warm up to the temperature of the
refrigerator compartment. To prevent ice cubes from
melting and leaking from the dispenser, ALWAYS
empty the ice bin when the icemaker is set to OFF
for more than a few hours.
CAUTION
CAUTION
When handling the ice bin, keep
hands away from the icemaker tray
area to avoid personal injury.
Ice-detecting
sensor
Bekijk gratis de handleiding van LG GR-L260MAJ, stel vragen en lees de antwoorden op veelvoorkomende problemen, of gebruik onze assistent om sneller informatie in de handleiding te vinden of uitleg te krijgen over specifieke functies.
Productinformatie
Merk | LG |
Model | GR-L260MAJ |
Categorie | Koelkast |
Taal | Nederlands |
Grootte | 10068 MB |