Handleiding
Je bekijkt pagina 7 van 34

REFRIGERATOR INSTALLATION
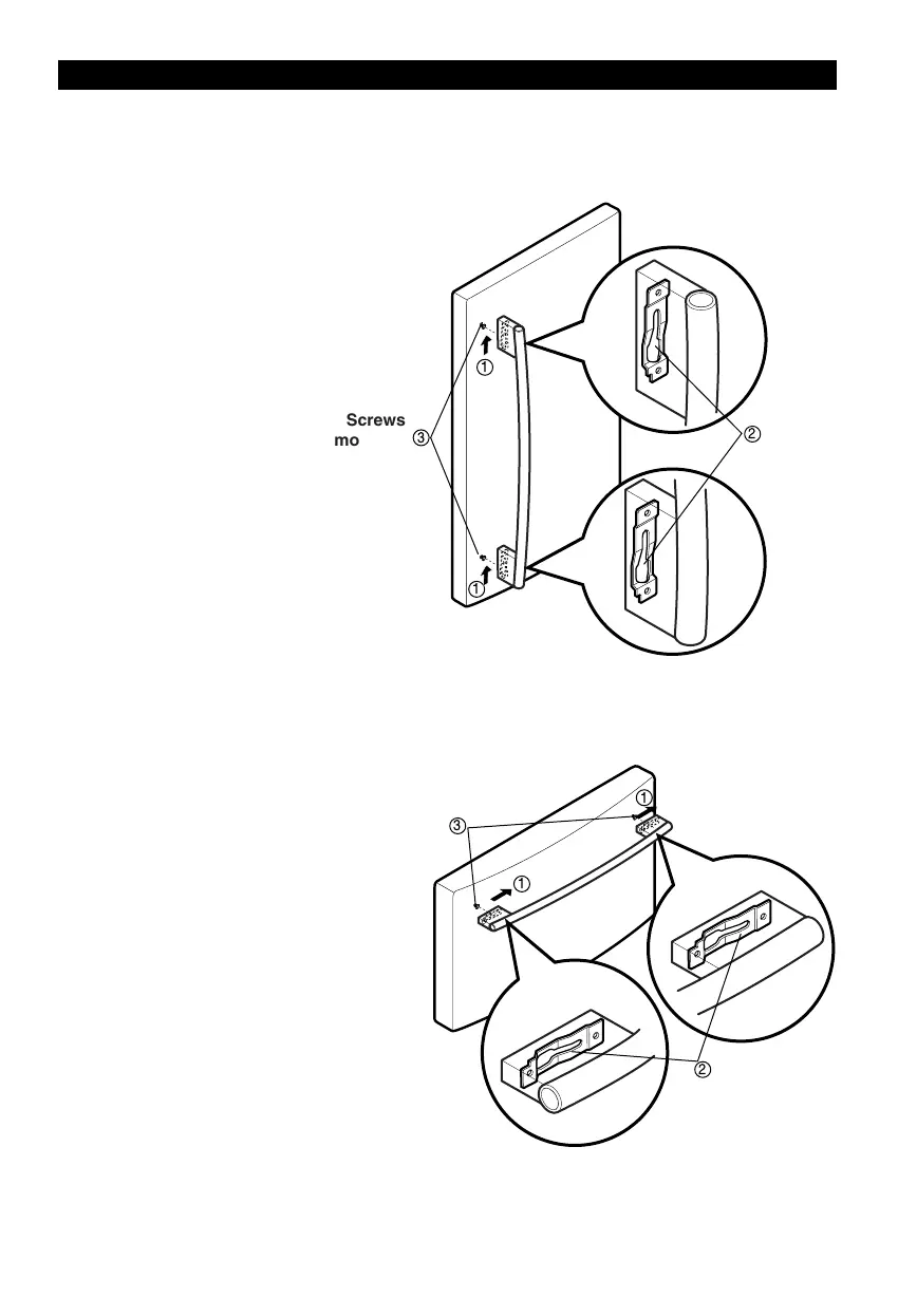
HOW TO REMOVE DOOR HANDLES
To move refrigerator through a house door, it maybe necessary to remove refrigerator and freezer door
handles.
NOTE: Handle appearance may
vary from illustrations on this page.
1. Removing Refrigerator Handle
• Grasp the handle tightly with
both hands and slide the
handle up (1)(this may require
some force).
• The keyhole slots (2) on the
back of the handle allow the
handle to separate from the
mounting screws (3).
w CAUTION: The handle could
be damaged if you hit it with a
hammer while removing or
attaching.
w CAUTION: When you
assemble or disassemble
handle, you must push or pull
with reasonable force.
2. Removing Freezer Drawer
Handle
• Press the handle against door
first.
• Grasp the handle tightly with
both hands and slide the
handle to right (1)(this may
require some force).
• The keyhole slots (2) on the
back of the handle allow the
handle to separate from the
mounting screws (3).
7
1
1
3
2
3
1
1
2
Screws
mounted
on door
Screws
mounted
on door
Keyhole
slots on
back of
handle
Keyhole
slots on
back of
handle
Bekijk gratis de handleiding van LG GR-F278JTK, stel vragen en lees de antwoorden op veelvoorkomende problemen, of gebruik onze assistent om sneller informatie in de handleiding te vinden of uitleg te krijgen over specifieke functies.
Productinformatie
Merk | LG |
Model | GR-F278JTK |
Categorie | Koelkast |
Taal | Nederlands |
Grootte | 3901 MB |