LG F4A1009NWK handleiding
Handleiding
Je bekijkt pagina 25 van 44

25
GEBRUIK
NEDERLANDS
• Sluit ritsen, haken en koorden om ervoor te
zorgen dat deze artikelen niet blijven haken aan
andere kleding.
• Behandel vuil en vlekken voor door een kleine
hoeveelheid in water opgelost wasmiddel in te
borstelen, om te zorgen dat vlekken en vuil
gemakkelijker loslaten.
Wasmiddelen en
wasverzachters toevoegen
Dosering wasmiddel
• Wasmiddel moet worden gebruikt volgens de
instructies van de fabrikant en worden gekozen
volgens type, kleur en vervuiling van de stof en
de wastemperatuur. Gebruik alleen wasmiddel
dat geschikt is voor trommel (voorkant inladen)
type wasmachines.
• Verminder de hoeveelheid wasmiddel als er
teveel schuim opkomt.
• Als er teveel wasmiddel wordt gebruikt, kan er
teveel schuim ontstaan. Dit leidt tot slechte
wasresultaten of veroorzaakt een zware
belasting van de motor.
• Volg de richtlijnen van de producent van het
wasmiddel indien u vloeibaar wasmiddel wenst
te gebruiken.
• U kunt vloeibaar wasmiddel rechtstreeks in de
primaire wasmiddellade gieten als u
onmiddellijk met het wasprogramma begint.
• Gebruik geen vloeibaar wasmiddel als u de
Einduitstel
functie gebruikt, of als u de optie
Voorwas
hebt gekozen, omdat de vloeistof
onmiddellijk zal worden afgegeven en kan
verharden in de lade of de kuip.
• Wasmiddelgebruik moet worden aangepast
volgens de watertemperatuur, de
waterhardheid, de grootte en het
vervuilingsniveau van de lading. Vermijd
overdosering van het wasmiddel voor de beste
resultaten. Als u dit niet doet, ontstaat
overmatige schuimvorming.
• Raadpleeg het waslabel van de kleding voordat u
het wasmiddel toevoegt en de
watertemperatuur kiest.
• Gebruik enkel geschikte wasmiddelen voor het
respectieve soort kleding:
- Vloeibaar reinigingsmiddel is vaak ontworpen
voor speciale toepassingen, bijvoorbeeld voor
gekleurd weefsel, wol, delicate of donkere
kleding.
- Waspoeders zijn geschikt voor alle soorten
stof.
- Voor betere wasresultaten van witte of
heldere kleding kunt u waspoeder met
bleekmiddel gebruiken.
- Wasmiddel wordt uit de wasmiddellade
gespoeld aan het begin van het
wasprogramma.
OPMERKING
• Laat het wasmiddel niet verharden. Dit kan
leiden tot verstoppingen, slechte spoelprestaties
of geurtjes.
• Volle lading: Volgens advies van de fabrikant.
• Deellading: 1/2 van de normale hoeveelheid.
• Minimum lading: 1/3 van de volle lading.
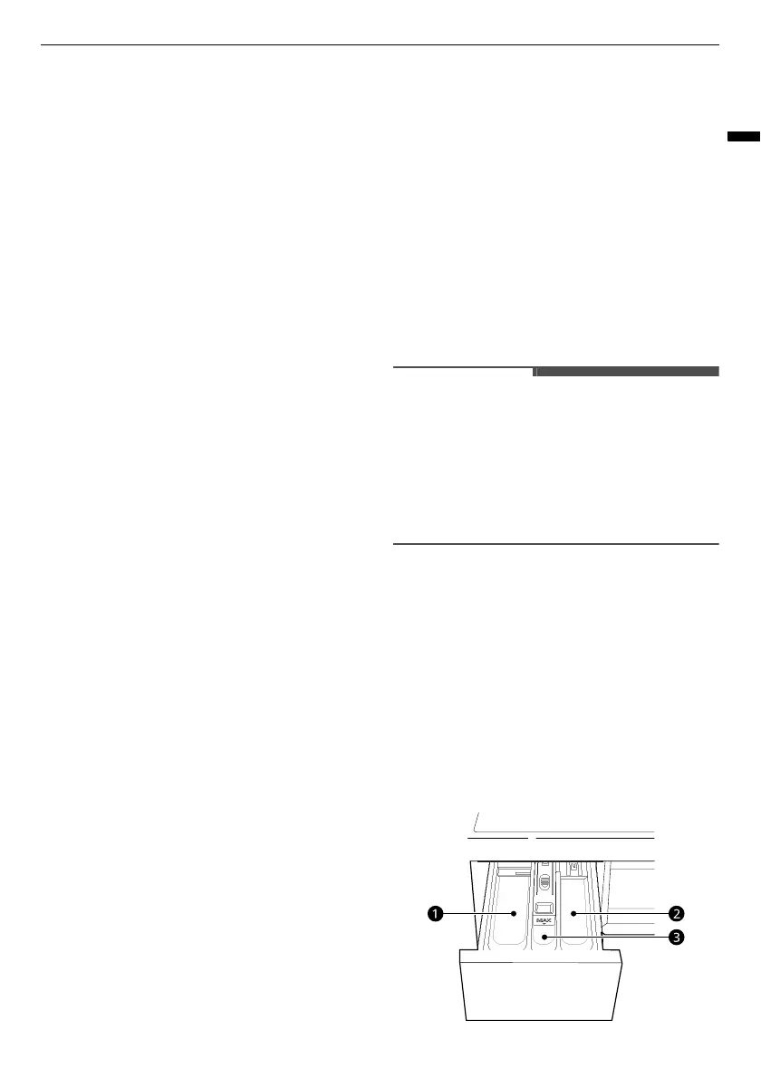
De dispenser gebruiken
Om een dosering wasmiddel aan de dispenser toe
te voegen:
1
Open de dispenser lade.
2
Voeg het wasmiddel en de verzachter toe aan
de juiste compartimenten.
Bekijk gratis de handleiding van LG F4A1009NWK, stel vragen en lees de antwoorden op veelvoorkomende problemen, of gebruik onze assistent om sneller informatie in de handleiding te vinden of uitleg te krijgen over specifieke functies.
Productinformatie
| Merk | LG |
| Model | F4A1009NWK |
| Categorie | Wasmachine |
| Taal | Nederlands |
| Grootte | 3369 MB |







