Handleiding
Je bekijkt pagina 11 van 36

11
INSTALLATION
ENGLISH
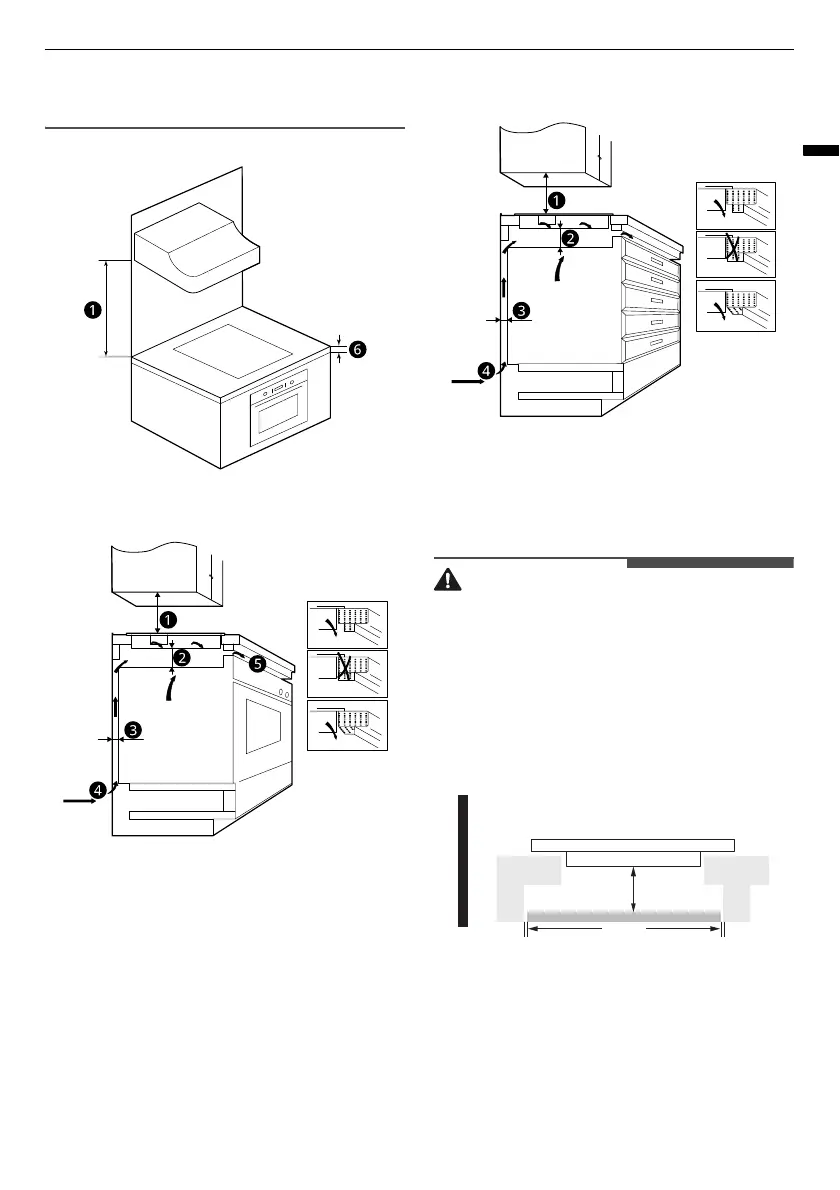
maintained between the cooktop hob and the
range hood above it.
Oven
Drawer
a
Min. 500 mm
b
Min. 15 mm
c
Min. 20 mm
d
Air intake
e
Air exit 5 mm
f
Min. 10 mm
WARNING
•
Ensuring Adequate Ventilation
Make sure the hob is well ventilated and that air
inlet and outlet are not blocked. In order to avoid
accidentally touching the hot bottom of the hob,
or unexpected electric shock during operation, it
is necessary to fit a wooden insert, fixed by
screws, at a minimum distance of 15 mm from
the bottom of the hob. Follow the requirements
below.
• There are ventilation holes around outside of the
hob. YOU MUST ensure these holes are not
blocked by the worktop when you put the hob
into position.
• The glue, which join the plastic or wooden
material to the furniture has to resist to 150 ℃ to
avoid the unstuck of the paneling.
Min. 15 mm
Max. 5 mmMax. 5 mm
Bekijk gratis de handleiding van LG CI7Z2437BA, stel vragen en lees de antwoorden op veelvoorkomende problemen, of gebruik onze assistent om sneller informatie in de handleiding te vinden of uitleg te krijgen over specifieke functies.
Productinformatie
| Merk | LG |
| Model | CI7Z2437BA |
| Categorie | Fornuis |
| Taal | Nederlands |
| Grootte | 2514 MB |







