Handleiding
Je bekijkt pagina 13 van 32

13
INSTALLATION
ENGLISH
Any alterations must only be made by a qualified
electrician.
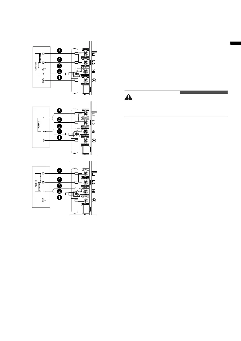
a
Yellow / Green
b
Grey
c
Blue
d
Brown
e
Black
• If the power cord is damaged or needs to be
replaced, contact an LG Electronics Customer
Information Centre.
• The installer must ensure that the correct
electrical connection has been made and that it
is compliant with safety regulations.
• If the appliance is being connected directly to the
mains an omnipolar circuit-breaker must be
installed with a minimum opening of 3 mm
between contacts.
• The power cord must not be bent or
compressed.
• The power cord must be checked regularly and
replaced by authorised technicians only.
• Once the hob is connected to the mains supply,
check that all cooking zones are ready for use by
briefly switching each on in turn at the maximum
setting with suitable cookware.
WARNING
• Make sure that the bottom surface and the
power cord of the hob do not come into contact.
Bekijk gratis de handleiding van LG CI5Z2423BN, stel vragen en lees de antwoorden op veelvoorkomende problemen, of gebruik onze assistent om sneller informatie in de handleiding te vinden of uitleg te krijgen over specifieke functies.
Productinformatie
Merk | LG |
Model | CI5Z2423BN |
Categorie | Fornuis |
Taal | Nederlands |
Grootte | 2307 MB |