Lescha S 180 handleiding
Handleiding
Je bekijkt pagina 63 van 67

63
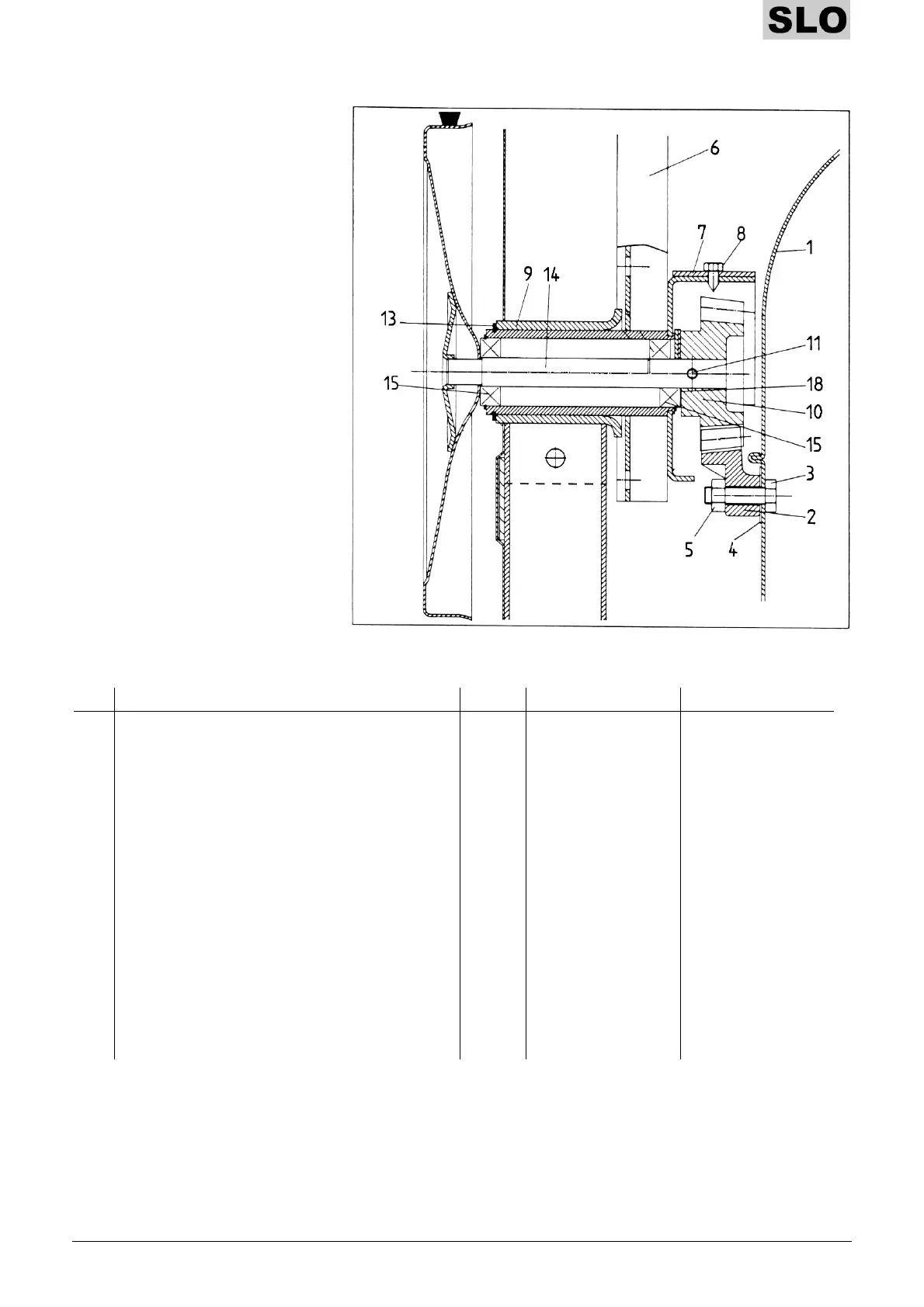
6.3.2 Demontaža pogonskega pastorka in pogonske gredi (sl. 3)
Kotna pločevino (7) odstranite,
ko odpustite vijak (8).
Prebijte vpenjalni zatič (11).
Snemite klinasti jermen.
Demontirajte motor in zaščitno
pločevino.
Komplet pogonske gredi s
jermenico (14) demontirajte v
smeri prostora motorja.
Če je pogonski pastorek (10)
močno pritrjen, lahko med
podložko (12) in pogonski
pastorek (10) potisnete zašiljen
izvijač. Pogonsko gred (14) ob
tem obračajte na jermenici.
Če to ni uspešno, morate mešalni
boben demontirati, da lahko
izbijete pogonsko gred..
Kosovnica za sl. 3
Poz Oznaka Kos. Ident. Nr. S 180 Ident. Nr.. S 230
1 Mešalni boben s pos. 2 1 51203 51205
2 Zobati venec s. pos. 3-5 1 42783 42783
3 Šestrobni vijak M10x35 4/6 54547 54547
4 Poravnalna ploščica 4/6 41940 41940
5 Varovalna matica 4/6 48427 48427
6 Ležajni roč 1 52901 52902
7 Kotna pločevina s pos. 8 1 52921 52921
8 Vijak za pločevino 6,3x19 1 48092 48092
9 Ležaj s pritrdilnimi deli 1 52924 52924
10 Pogonski pastorek s pos. 11 1 44298 44298
11 Vpenjalni zatič 1 48022 48022
13 Varovalni obroč 1 40750 40750
14 Pogonska gred komplet* 1 32026 32026
15 Kroglični ležaji z utorom 6203.2RS - RN 1/2 44375 44375
18 Prilagodilni kos 17 x 24 1 49133 49133
sl. 3
Bekijk gratis de handleiding van Lescha S 180, stel vragen en lees de antwoorden op veelvoorkomende problemen, of gebruik onze assistent om sneller informatie in de handleiding te vinden of uitleg te krijgen over specifieke functies.
Productinformatie
| Merk | Lescha |
| Model | S 180 |
| Categorie | Niet gecategoriseerd |
| Taal | Nederlands |
| Grootte | 11043 MB |
