Lescha S 180 handleiding
Handleiding
Je bekijkt pagina 50 van 67

50
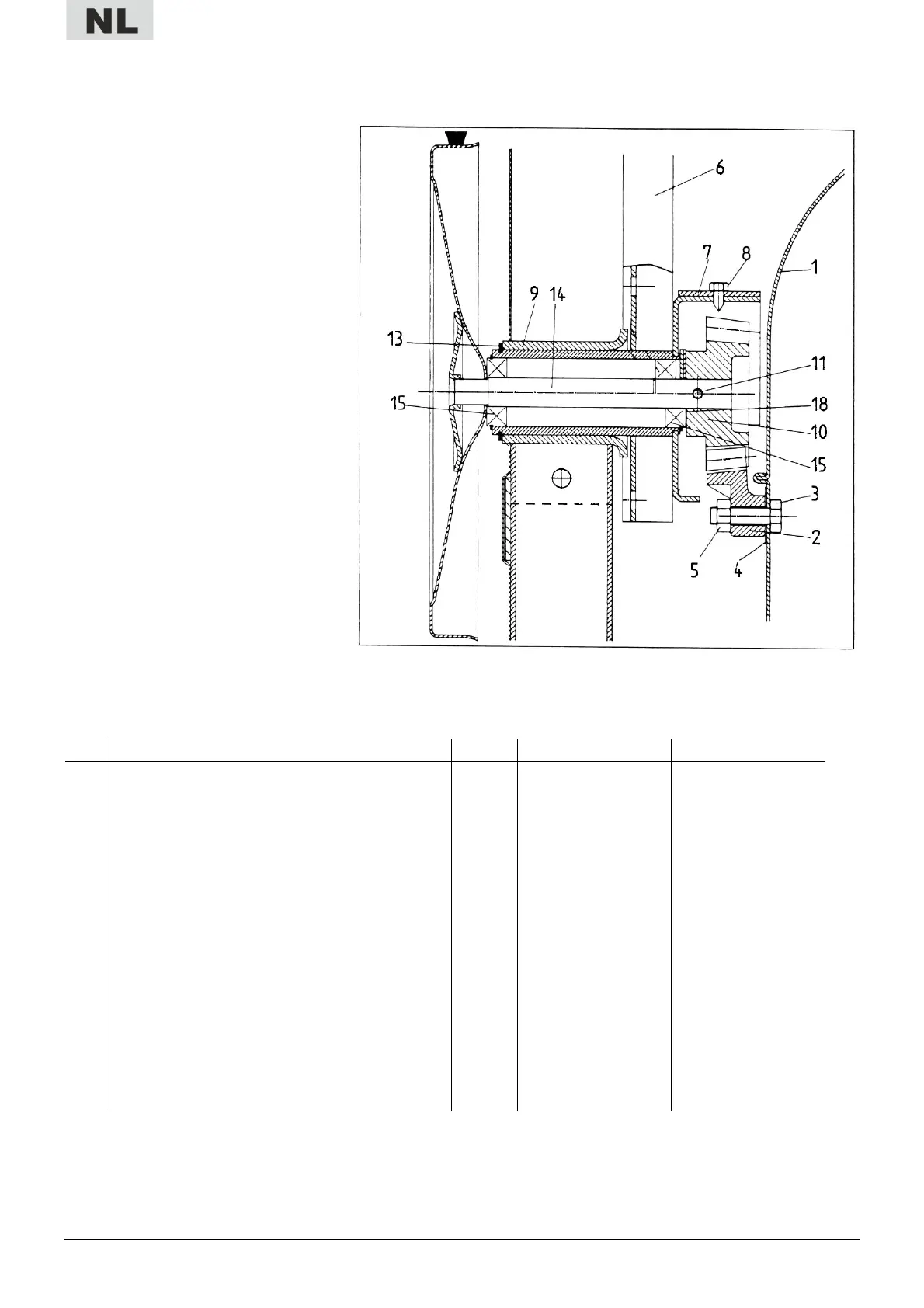
6.3.2 Verwijder het aandrijfrondsel en de aandrijfas (fig. 3).
Verwijder de hoekplaat (7) na het
losdraaien van de schroef (8).
Sla de spanstift (11) door.
Verwijder de V-riem.
Demonteer de motor en de
beschermplaat.
Verwijder de aandrijfas compleet
met riemschijf (14) in de richting
van de motorruimte.
Als het aandrijfrondsel (10) stevig
vastzit, kan een puntige
schroevendraaier tussen de schijf
(12) en het aandrijfrondsel (10)
gedreven worden. Draai daarbij de
aandrijfas (14) door de riemschijf.
Indien dit niet lukt, moet de
mengtrommel gedemonteerd
worden, zodat de aandrijfas met
een doorslag doorgeslagen kan
worden.
Stuklijst bij fig. 3
Pos. Benaming St. Ident. Nr. S 180 Ident. Nr.. S 230
1 Mengtrommel m. pos. 2 1 51203 51205
2 Tandwiel m. pos. 3-5 1 42783 42783
3 Zeskantschr. M10 x 35 4/6 54547 54547
4 Borgplaat 4/6 41940 41940
5 Borgmoer 4/6 48427 48427
6 Lagerbeugel 1 52901 52902
7 Hoekplaat m. pos. 8 1 52921 52921
8 Plaatschroef 6,3 x 19 1 48092 48092
9 Lager met bevestigingsdelen 1 52924 52924
10 Aandrijfrondsel met pos. 11 1 44298 44298
11 Spanstift 1 48022 48022
13 Borgring 1 40750 40750
14 Aandrijfas cpl. met riemschrijf 1 32026 32026
15 Groefkogellager 6203.2RS – RN 1/2 44375 44375
18 Pasring 17 x 24 1 49133 49133
Fig. 3
Bekijk gratis de handleiding van Lescha S 180, stel vragen en lees de antwoorden op veelvoorkomende problemen, of gebruik onze assistent om sneller informatie in de handleiding te vinden of uitleg te krijgen over specifieke functies.
Productinformatie
| Merk | Lescha |
| Model | S 180 |
| Categorie | Niet gecategoriseerd |
| Taal | Nederlands |
| Grootte | 11043 MB |
