Lescha S 180 handleiding
Handleiding
Je bekijkt pagina 48 van 67

48
6.2 Onderhoud
De mixer is grotendeels onderhoudsvrij.
De kogellagers van de mengtrommel en de aandrijfas zijn permanent gesmeerd.
De zwenklagers moeten driemaandelijks geolied worden.
Enkele druppels olie op het pedaalscharnier van de voetrem, op de borgpennen en op de wielnaven zijn
eveneens nuttig.
Voorzichtig!
Schakel de mixer uit en trek de stekker uit de motorbehuizing alvorens de olie aan
te brengen.
6.3 Reparaties
Neem de veiligheidsmaatregelen in acht!
Schakel de mixer uit en koppel hem los van het elektriciteitsnet of trek de bougiestekker uit alvorens
een reparatie uit te voeren.
Neem de mixer niet in gebruik tijdens reparaties.
Reparatiewerkzaamheden aan de elektrische apparatuur mogen uitsluitend door een erkende
elektricien uitgevoerd worden.
Alleen originele Lescha-reserveonderdelenmogen gebruikt worden als vervangonderdelen.
Indien beschermkappen voor reparatiewerkzaamheden verwijderd worden, moeten zij na afloop van de
werkzaamheden weer op de juiste wijze aangebracht worden.
Bij reparatiewerkzaamheden aan de lagers is het raadzaam een vakman of een gespecialiseerd bedrijf in
te schakelen.
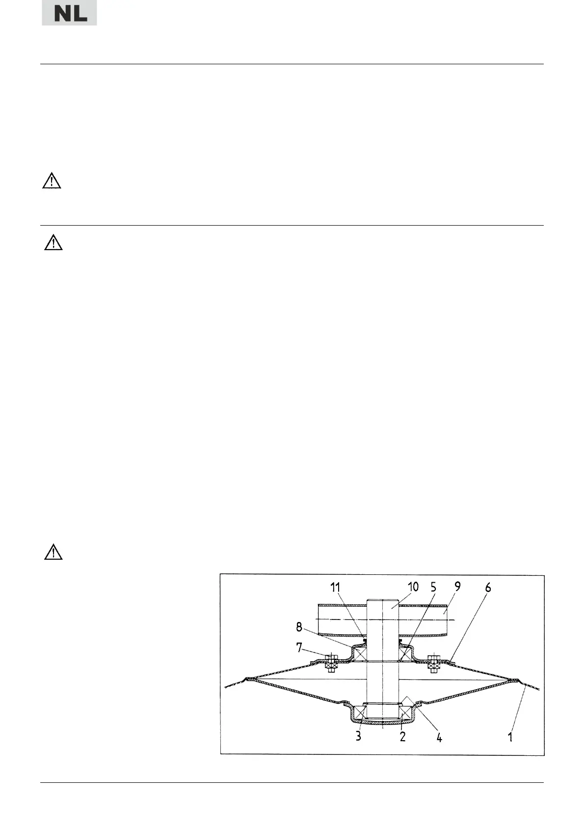
6.3.1 Mengtrommellagers vervangen
S 180 IS 230 (fig. 2)
Plaats de mengtrommel (1) met de opening naar beneden.
Draai de bevestigingsschroeven (7) van de lagerschaal (6) los.
Opgelet! De mengtrommel kan plotseling naar beneden vallen. Houd daarom de mengtrommel
samen met een tweede persoon vast.
Als de mengtrommel vastzit – als
gevolg van passingroest in de
lagers – kan de mengtrommel
met lichte slagen op de
onderkant van de mengtrommel
naar beneden geslagen worden.
Trek de lagerschaal (6) met lager
(8) van de lagerbeugelpen (10).
Het ingeperste lager (2) in de
onderkant van de mengtrommel
kan het best met een
binnenuittrekker verwijderd
worden.
Fig. 2
Bekijk gratis de handleiding van Lescha S 180, stel vragen en lees de antwoorden op veelvoorkomende problemen, of gebruik onze assistent om sneller informatie in de handleiding te vinden of uitleg te krijgen over specifieke functies.
Productinformatie
| Merk | Lescha |
| Model | S 180 |
| Categorie | Niet gecategoriseerd |
| Taal | Nederlands |
| Grootte | 11043 MB |
